什么是外周支架获批上市!国产新一代外周球囊扩张导管

新闻资讯2026-04-23 18:30:33

文章来源:心未来;编辑:Jessi

转载要求:首发24小时后可转载,需注明来源

什么是外周支架获批上市!国产新一代外周球囊扩张导管_https://www.jmylbn.com_新闻资讯_第1张



什么是外周支架获批上市!国产新一代外周球囊扩张导管_https://www.jmylbn.com_新闻资讯_第2张

报名:第二届全球手术机器人大会

腔镜手术机器人产品课 |医美大赛报名启动

什么是外周支架获批上市!国产新一代外周球囊扩张导管_https://www.jmylbn.com_新闻资讯_第3张


心未来

近日,上海微创心脉医疗科技(集团)股份有限公司控股子公司上海鸿脉医疗科技有限公司研发的 ReeAmber®外周球囊扩张导管获国家药品监督管理局(NMPA)批准上市注册证编号:国械注准20243031505。该产品是心脉医疗™新一代外周球囊扩张导管,目前国内型号规格最广的产品,球囊直径覆盖 2~7mm、球囊长度覆盖 20~220mm。

作为新一代外周球囊扩张导管,该产品具备诸多优点,包括一体化尖端构型、超薄壁设计和亲水涂层,这些特性使得导管在通过狭窄动脉时更顺畅,降低了对血管的损伤风险。ReeAmber®在国内获批上市,进一步加强了心脉医疗在外周动脉领域的产品竞争力,巩固了公司在外周动脉产品线的产品布局。鸿脉医疗™目前还有多款外周动脉器械处于研发进程中,其中多款产品也有望于今年获批上市

目前,心脉医疗™在外周动脉领域已有 4 款已上市产品,包括 Reewarm® PTX 药物球囊扩张导管、Reewarm®外周球囊扩张导管、Ryflumen®外周高压球囊扩张导管,以及CROWNUS®外周血管支架系统。外周动脉产品已累计救治国内外超过3万名患者。

什么是外周支架获批上市!国产新一代外周球囊扩张导管_https://www.jmylbn.com_新闻资讯_第4张

▲ReeAmber®外周球囊扩张导管(源自公司官网)

该产品适用于髂动脉、股动脉、腘动脉、腘下动脉和肾动脉狭窄性病变,以及自体或人工合成动静脉透析瘘管的阻塞性病变的治疗,也可用于外周血管中的球囊扩张型及自膨胀型支架的后扩张

产品特点

  • 拥有一体化尖端构型、薄壁球囊和“两段式”的推送系统球囊和推送系统涂覆有亲水涂层,显著提升了产品的通过性;

  • 球囊部分采用“超薄壁”设计可获得较小的球囊压握外径和良好的球囊回抱性;

  • 球囊的低顺应性可有效减少对血管的过度损伤,为后续操作提供良好的血管准备基础。

  • 产品规格齐全(直径:2.0~8.0mm,长度:20~200mm),导管分为 90cm 和150cm 两种长度规格,同轴式结构和多种规格的设计满足多种手术需求;

  • 球囊导管能顺利通过 4F/5F 的导管鞘

# 首例临床植入
2014年12月20日,Reewarm®外周球囊扩张导管的首例临床病例植入北京市中日友好医院顺利完成。

此次首例患者手术病灶长度非常长,应用 Reewarm 外周球囊扩张导管充分扩张,术后造影显示血管非常通畅,手术成功

什么是外周支架获批上市!国产新一代外周球囊扩张导管_https://www.jmylbn.com_新闻资讯_第5张

▲源自公司官网


# 产品市场概括
外周动脉疾病是指因外周动脉局部狭窄或闭塞导致身体局部缺血的疾病,下肢动脉狭窄或闭塞后,会引起间歇性跛行、腿部或足部皮肤发冷、慢性疼痛和坏疽等症状。球囊成形术和外周动脉支架置入是目前针对外周动脉闭塞的两种主要非手术治疗方式
随着中国居民生活水平提高以及对健康重视程度的不断提升,未来我国外周动脉介入手术量将不断增长。随我国外周动脉介入手术量不断增加,我国外周动脉介入支架和球囊市场也将不断扩大。根据弗若斯特沙利文分析,按厂家出货量和出厂价口径统计,预计到 2030 年中国外周动脉介入支架和球囊市场将增长至 68.0 亿元
什么是外周支架获批上市!国产新一代外周球囊扩张导管_https://www.jmylbn.com_新闻资讯_第6张
▲源自弗若斯特沙利文分析
从竞争格局来看,我国本土 PTCA 球囊扩张导管(含冠脉、外周动脉、外周高压、颅内、外周刻痕、气道等)的生产商主要有迪马克、微创医疗、乐普医疗、博迈医疗、蓝帆医疗等。其中,博迈医疗、归创通桥、鼎科医疗、埃普特医疗获证最多,均在 10 张以上。
但从市场份额占比来看,四家国外企业合计占有率达到 60% 以上,特别是波士顿科学与美敦力,合计占有率接近 50%,而国内企业合计占有率仅在 40% 左右。由此来看,我国 PTCA 球囊扩张导管市场国产化替代空间依然广阔
在外周球囊扩张导管方面,2023年,波士顿科学宣布旗下产品 Athletis 外周球囊扩张导管在中国内地上市,该外周球囊扩张导管为非顺应性,专利编织球囊设计工艺,提供高达 40 ATM 的超高压,具备抗划伤和抗刺破性能。2008年,美敦力第一代 Admiral™ Xtreme 0.035“外周球囊扩张导管在中国上市,具有双腔轴、大球囊腔、低球囊剖面、长达 300mm 的球囊长度设计,可更快泄囊,拥有良好的通过性,专利技术防止球囊“香蕉”效应,使其轻松应对长病变
从药监局官网查询,目前已获批的进口外周球囊扩张导管有 16 款
什么是外周支架获批上市!国产新一代外周球囊扩张导管_https://www.jmylbn.com_新闻资讯_第7张

▲部分已获批的的进口外周球囊扩张导管

放眼国内,心凯诺医疗、蓝帆医疗、博迈医疗、归创通桥、鼎科医疗、埃普特医疗、鸿脉医疗以及苏州恒瑞等众多公司均有产品获批上市。2021年,心凯诺医疗的 Hydrus® 外周球囊扩张导管获批上市,该产品也获得欧盟 CE 认证,直径为 3-14mm,长度范围为 20-300mm,超滑亲水涂层、更小球囊外径,保证产品的高跟踪性和通过性。

2024年,蓝帆医疗子公司上海博脉安医疗科技有限公司的轻脉®外周球囊扩张导管获批上市。轻脉®的设计优势在于其更小的头端尺寸(最小头端外径0.017''),更好的通过性,大幅降低了操作难度,也减少了血管损伤的可能性。球囊直径从 1.5mm 到 4.0mm,球囊长度从 20mm 到 220mm,可覆盖大部分病变,满足不同患者的个性化治疗需求。

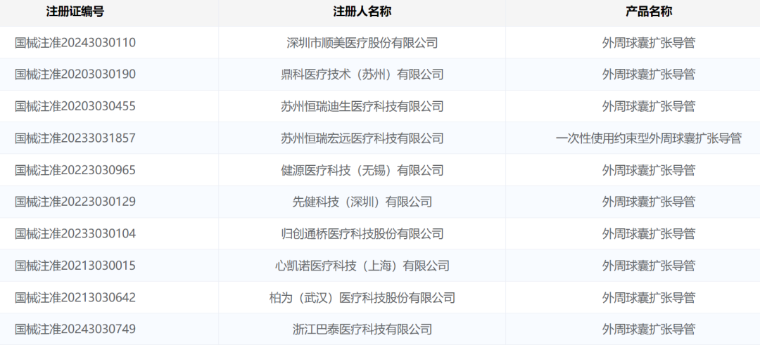
从药监局官网查询,目前已获批的国产外周球囊扩张导管有 58 款

什么是外周支架获批上市!国产新一代外周球囊扩张导管_https://www.jmylbn.com_新闻资讯_第8张
▲部分已获批的的国产外周球囊扩张导管


关于心脉医疗

什么是外周支架获批上市!国产新一代外周球囊扩张导管_https://www.jmylbn.com_新闻资讯_第9张

上海微创心脉医疗科技(集团)股份有限公司(股票代码:688016)是一家专注于主动脉及外周血管介入医疗器械领域的高新技术企业,成立于2012年,并于2019年首批登陆科创板。公司拥有已上市产品 13 款,主要涵盖胸主动脉和腹主动脉覆膜支架、术中支架、药物球囊扩张导管以及外周血管支架、球囊扩张导管等产品,其中 5 款产品获CE认证

什么是外周支架获批上市!国产新一代外周球囊扩张导管_https://www.jmylbn.com_新闻资讯_第10张
截至2023年12月,心脉医疗™的产品已在国内进入超 2100 家医院,在海外进入 31 个国家和地区,拯救了全球逾 26 万名患者的生命目前公司国内业务覆盖全国 31 个省区市,国际业务覆盖欧洲、拉美、东南亚等多个地区。
心脉医疗预计2024年上半年营收在7.77亿元到8.08亿元之间,同比增长25%到30%,净利润在3.9亿元到4.2亿元之间,同比增长40%到50%。



什么是外周支架获批上市!国产新一代外周球囊扩张导管_https://www.jmylbn.com_新闻资讯_第11张



主编|赵清     审核|祎禾

什么是外周支架获批上市!国产新一代外周球囊扩张导管_https://www.jmylbn.com_新闻资讯_第12张