普通留置针怎么固定这个护理创新太小巧,护士用过都说好!

新闻资讯2026-04-21 15:46:00
普通留置针怎么固定这个护理创新太小巧,护士用过都说好!_https://www.jmylbn.com_新闻资讯_第1张

点击上方“蓝字”,关注更多精彩



导语


今天给各位护士发明家整理了一些护理服务创新项目,堪称"金点子",不但顺利解决了临床上常见的各种护理问题,而且产生了超出预期的附加效应。如果你现在仍然为上面的工作所困,不妨借鉴一下~



创新一


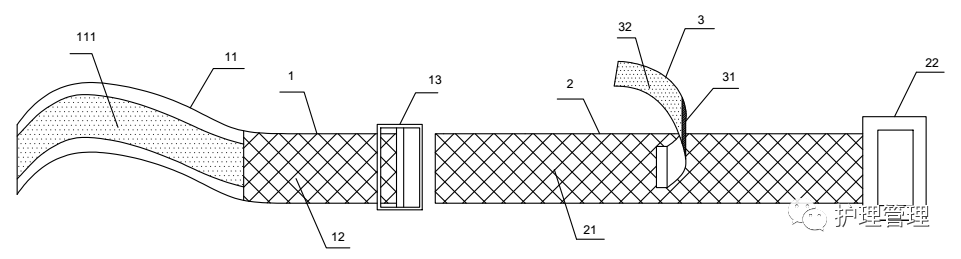
一种留置针固定器

自从静疗规范明确提出“钢针零容忍”以来,静脉留置针在国内各大医院被广泛应用。但是留置针的固定一直都是个大麻烦......在护理岗位工作了17年的江苏省徐州市矿务集团总医院神经内科三区护士长何金,针对临床上手臂留置针固定难的痛点,在“高举平台法”的基础上进行摸索研究,设计了一种留置针固定器(学名:动静脉导管固定器)


该动静脉导管固定器既能提高静脉留置针的固定规范率,又一定程度上改善了患者舒适度,并能减轻患者的经济负担和护士的工作量。


普通留置针怎么固定这个护理创新太小巧,护士用过都说好!_https://www.jmylbn.com_新闻资讯_第2张

工作原理




该种固定器由弹力扎带和导管固定贴组成,弹力扎带包裹手臂,固定在留置针上方,并设计有弯状结构,不会压迫留置针及血管。导管固定贴由魔术贴组成,反复撕贴也不会影响黏性,可以将留置针接口部分进行妥善固定,并符合“高举平台”原理,封管后回血较少。

整个固定器装置具有一定的弹力,对患者手臂血流、留置针输液无影响。

普通留置针怎么固定这个护理创新太小巧,护士用过都说好!_https://www.jmylbn.com_新闻资讯_第3张


普通留置针怎么固定这个护理创新太小巧,护士用过都说好!_https://www.jmylbn.com_新闻资讯_第4张

竞争优势




该项固定器已经获得了国家实用新型专利证书,并被运用于临床。于现有的胶带固定法相比,该项固定器有如下的优点:


  1. 不直接黏贴在病人皮肤,较胶带、贴膜透气性更强,病人更舒适。


  2. 具有一定的弹力,对患者手臂血流、留置针输液无影响。


  3. 通过弹力扎带和塑料皮扣环状固定,较胶带、贴膜靠黏性固定更为牢固,能有效防止导管滑脱,降低导管意外脱出率。


  4. 采取可重复撕贴的魔术贴结构,病人如有不舒适可随时进行调整。


  5. 固定器使用材料均为可消毒清洗材料,消毒清洗后可重复使用,成本较低。

普通留置针怎么固定这个护理创新太小巧,护士用过都说好!_https://www.jmylbn.com_新闻资讯_第5张

以下视频来源于

知护圈


护士长何金介绍以前临床上留置针的固定主要是贴膜和胶布,胶布容易卷边和脱落,尤其夏天的时候十分明显,导致留置针固定不规范和不牢固的问题出现,留置针留置的时间也较短,需要再次重新留置,病人往往拒绝再次使用。这样不仅增加了患者的痛苦,增加了静脉输液的风险如反复穿刺造成的血管损伤,以及因反复穿刺导致血管条件差穿刺失败影响抢救的风险,也增加了护士的工作量。现在的留置针固定器的使用,病人非常喜欢,不仅美观舒适,还延长了留置针的留置时间,减轻了病人的经济负担。


普通留置针怎么固定这个护理创新太小巧,护士用过都说好!_https://www.jmylbn.com_新闻资讯_第6张

而对医护人员来说,该种留置针固定器,既减轻护士工作量,又提高了护理质量和安全。目前已在徐州市多家医院推广应用。




创新二


一种医用电动牙刷


目前,医院主要是使用市面上普通牙刷对病患口腔进行清洗,当病患处于昏迷中时,医护人员对其口腔进行清洁操作非常不易,患者容易误咽清洁牙刷产生的液体,故医护人员需要小心操作,才能对病患口腔清洁干净,效率很低。


宁波市医疗中心李惠利医院汪莉莉团队研发的医用电动牙刷,能够非常方便医护人员对病患的口腔进行清洁,保持病患口腔的干净,从而有利于病患康复。


普通留置针怎么固定这个护理创新太小巧,护士用过都说好!_https://www.jmylbn.com_新闻资讯_第7张

普通留置针怎么固定这个护理创新太小巧,护士用过都说好!_https://www.jmylbn.com_新闻资讯_第8张

普通留置针怎么固定这个护理创新太小巧,护士用过都说好!_https://www.jmylbn.com_新闻资讯_第9张

1、手持把,2、开关,3、开口,4、储液囊,5、加液口,6、牙刷头,7、刷毛,8、喷液嘴,10、输液管,11、第一内腔,12、第二内腔,13、电池,14、第三内腔,15、电机,16、单向阀,17、震动轴,18、连接凹槽,19、囊腔,20、半圆形硅胶片,21、固定环、22、连接头,23、密封圈,24、电路板,25、次级线圈,26、指示灯


普通留置针怎么固定这个护理创新太小巧,护士用过都说好!_https://www.jmylbn.com_新闻资讯_第10张

工作原理


本医用电动牙刷能够将储液囊中储存的药液输送到喷液嘴,在牙刷头对病患口腔清洗的同时将药液喷入到病患口中,使得能够通过牙刷头和药液同时对病患口腔进行清洁,清洁的效果更好、效率更高,药液也能够避免病患直接咽下去,更加方便医护人员使用。

通过若干的刷毛更好的清洁口腔,喷液嘴间隔设置在刷毛之间,喷出的药液同时能够与刷毛接触,使得刷毛也能带有药液,提高清洁效果。

普通留置针怎么固定这个护理创新太小巧,护士用过都说好!_https://www.jmylbn.com_新闻资讯_第11张

将设计为喷液嘴为尖锥型及输液管的一端与囊腔固定连接并连通,利于药液从喷液嘴喷出成颗粒状水滴。


采用单向阀能够防止进入输液管的药液回流到储液囊中,防止对储液囊中的药液污染。


手持把的侧边上设有用于对储液囊加入液体的加液口,能够方便添加药液,反复使用。


普通留置针怎么固定这个护理创新太小巧,护士用过都说好!_https://www.jmylbn.com_新闻资讯_第12张

竞争优势


①操作简单,方便卫生。


②不仅能对口腔内污渍进行清除,保证口腔内干净,减少患者口腔出现感染,避免出现病患的情况,还能保证医院中生活不能自理的病患,以及长时间处于昏迷的病患口腔的清洁安全。


③弥补市场上医用电动牙刷的空白,是对医疗新技术新领域的探索。



创新三


一种鼻部手术后冷敷用具

鼻出血、鼻中隔偏曲、鼻骨骨折治疗和鼻息肉摘除等都需要进行鼻内窥镜手术,手术本身有一定的创伤,术后为减少出血都要对局部进行填塞,可能会产生不适感和鼻部疼痛,也会有出血等一些并发症:

1.局部出血;

2.疼痛(手术原因、凡士林纱条填塞);

3.患者不舒适(填塞导致鼻部不适等)。


浙江省台州市恩泽医疗中心(集团)恩泽医院林峰设计的鼻部手术后冷敷用具可以解决上述问题。

普通留置针怎么固定这个护理创新太小巧,护士用过都说好!_https://www.jmylbn.com_新闻资讯_第13张

普通留置针怎么固定这个护理创新太小巧,护士用过都说好!_https://www.jmylbn.com_新闻资讯_第14张


这款鼻部手术后冷敷用具在临床科室试用半年多,使用前后各观察50例患者,统计显示,鼻部纱条填塞时间明显缩短了,从改进前平均4.62天下降到3.78天;使用前后患者疼痛评分(NRS评分)明显下降,从改进前NRS评分6.15分下降至4.87分;同时,可以减轻鼻部填塞带来不适感。

普通留置针怎么固定这个护理创新太小巧,护士用过都说好!_https://www.jmylbn.com_新闻资讯_第15张

普通留置针怎么固定这个护理创新太小巧,护士用过都说好!_https://www.jmylbn.com_新闻资讯_第16张


来源:知护圈整理自外科护理、浙江发明

声明:转载仅做分享,本文著作权归原创者所有,如有侵权请联系小编进行删除。



普通留置针怎么固定这个护理创新太小巧,护士用过都说好!_https://www.jmylbn.com_新闻资讯_第17张



往期回顾


【报到通知-武汉站】3月15日:高质量发展下全国医院财务与运营管理创新大会



【武汉站】3月15日:高质量发展下全国医院财务与运营管理创新大会



超全抢救药物速记口诀,实用,每位护士必备



20个常用的护理诊断,你的护理记录不用愁了!



院内手术分级管理制度如何建立?



做好DIP分值单价管理注意事项



医保结算清单中诊断、手术、操作的选择,这一篇说全了!



25项常见急症急救流程图



医院等级评审门急诊工作制度汇编



2024年医疗服务运营的关键是什么?



中华人民共和国卫生行业标准-《护理分级标准(2023版)》学习体会



医院病历管理制度(通用)



普通留置针怎么固定这个护理创新太小巧,护士用过都说好!_https://www.jmylbn.com_新闻资讯_第18张

点分享

普通留置针怎么固定这个护理创新太小巧,护士用过都说好!_https://www.jmylbn.com_新闻资讯_第19张

点在看

普通留置针怎么固定这个护理创新太小巧,护士用过都说好!_https://www.jmylbn.com_新闻资讯_第20张

点点赞