怎么用纸折病床成果研发案例:一种折叠式病床

新闻资讯2026-04-21 12:32:47
怎么用纸折病床成果研发案例:一种折叠式病床_https://www.jmylbn.com_新闻资讯_第1张

怎么用纸折病床成果研发案例:一种折叠式病床_https://www.jmylbn.com_新闻资讯_第2张

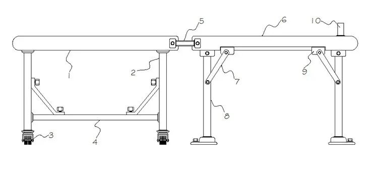
1成果名称:一种折叠式病床


怎么用纸折病床成果研发案例:一种折叠式病床_https://www.jmylbn.com_新闻资讯_第2张

2成果持有人:刘雪涵


怎么用纸折病床成果研发案例:一种折叠式病床_https://www.jmylbn.com_新闻资讯_第2张

3专利权人:嘉兴大学附属医院(嘉兴市第一医院)


怎么用纸折病床成果研发案例:一种折叠式病床_https://www.jmylbn.com_新闻资讯_第2张

4职称:主管护师


怎么用纸折病床成果研发案例:一种折叠式病床_https://www.jmylbn.com_新闻资讯_第2张

5科室:放射科








成果研发的背景情况:

病床也可称为医疗床、护理床等,是病人在休养时使用的病床,根据病人的治疗需要和卧床生活习性设计,主要使用场合有各大医院、乡镇卫生院、社区卫生服务中心等,通过病床的收纳折叠以便于在闲置状态减小占用面积,方便进行转移搬运。本实用新型可实现护栏稳定的竖直状态与水平状态,不仅具有保护作用,还具有过床易的作用;传统的病床在多人使用时都是直接将活动椅展开来当做陪护床使用,但是展开后的活动椅不仅非常占用病房的空间,还会影响后期病人的活动范围,同时活动椅在折叠展开时操作非常费力,并没有设置折叠式翻转病床来辅助陪护人员进行陪护使用;因此我们便提出了折叠式病床能够很好的解决以上问题。







成果内容及创新价值

本实用新型公开了一种折叠式病床,包括第一床板,其底部两端均通过螺钉安装有第一支撑腿,且两个所述第一支撑腿的底部均通过螺钉安装有移动轮,并且两个第一支撑腿的底部通过螺钉安装有放置板,还包括:所述第一床板的右侧通过铰链转动连接有第二床板,且第一床板与第二床板的结构等同,并且第二床板的底部两端均转动安装有第二支撑腿。该折叠式病床安装有铰链,利用在第一床板与第二床板的连接处设置有铰链,随后即可对第二床板进行翻转折叠,随后就可以方便患者家属的陪护使用,随后在第一床板与第二床板的上方均放置有挡板和被褥即可方便患者和陪护家属正常使用,提高了病床的使用效率。


怎么用纸折病床成果研发案例:一种折叠式病床_https://www.jmylbn.com_新闻资讯_第7张







预期前景与效益

本实用新型涉及病床技术领域,具体为一种折叠式病床,因其便携性、实用性和空间节省的特点,在医院、卫生院、养老院及家庭护理场景、医疗救助点中都有很大的需求,实用频率高,应用前景广。折叠式病床可提高病房空间利用率,在一定程度上增加病床数量。为患者和陪护人员提供了更舒适、便捷的服务,有助于提高医疗服务质量和患者满意度。

来源:嘉一科研与学科建设



在现实中,并不存在一种适用于各种情况的管理方法,而是要根据具体情境和人来灵活应用。想要成为护士喜欢、领导信任的护士长,一定要有方法有技巧, 《高级护理管理师》精英培训班,就能帮助你脱颖而出。


怎么用纸折病床成果研发案例:一种折叠式病床_https://www.jmylbn.com_新闻资讯_第8张




课程设置




怎么用纸折病床成果研发案例:一种折叠式病床_https://www.jmylbn.com_新闻资讯_第9张




怎么用纸折病床成果研发案例:一种折叠式病床_https://www.jmylbn.com_新闻资讯_第10张扫码立即报名
高级护理管理师

成为管理者

当好护士长/护理部主任,

你需要有这些特质!





讲师团队




怎么用纸折病床成果研发案例:一种折叠式病床_https://www.jmylbn.com_新闻资讯_第11张



报名通道

怎么用纸折病床成果研发案例:一种折叠式病床_https://www.jmylbn.com_新闻资讯_第12张



更多云课堂实用课程,请通过公众号菜单登录云课堂平台阅览:

想看更多内容


护理管理类课程:回复公众号“HLGL”。


职称考试类课程:回复公众号“ZCKS”。


临床护理类课程:回复公众号“LCHL”。


护理科研类课程:回复公众号“HLKY”。


精彩直播课课程:回复公众号“ZBK”。




怎么用纸折病床成果研发案例:一种折叠式病床_https://www.jmylbn.com_新闻资讯_第13张
怎么用纸折病床成果研发案例:一种折叠式病床_https://www.jmylbn.com_新闻资讯_第14张


怎么用纸折病床成果研发案例:一种折叠式病床_https://www.jmylbn.com_新闻资讯_第15张

可敬的护理人员

扫描二维码关注我们

获得更多知识


怎么用纸折病床成果研发案例:一种折叠式病床_https://www.jmylbn.com_新闻资讯_第16张
怎么用纸折病床成果研发案例:一种折叠式病床_https://www.jmylbn.com_新闻资讯_第17张