口镜怎么探秘口腔医院之——口镜

新闻资讯2026-04-21 07:05:59

点击蓝字 关注我们

Mid-Autumn Festival

小智同学是一名soma医创部门的小干事,为了让小智提高自己的创新能力,拥有更多富有创意的专利idea,部长小慧带他一起来到了口腔诊所,让我们一起看看他们发现了什么吧!

口镜怎么探秘口腔医院之——口镜_https://www.jmylbn.com_新闻资讯_第1张

向上滑动阅览对话

口镜怎么探秘口腔医院之——口镜_https://www.jmylbn.com_新闻资讯_第2张

学姐学姐,我们医用创新设计部门是负责将独特创新的想法转化为专利成果。但是我抠破脑袋也想不出创新想法,感觉自己一点创新思维都没有,我该怎么办呢?呜呜呜呜……

嗯,不着急~让我们先一起去口腔医院看看吧~

口镜怎么探秘口腔医院之——口镜_https://www.jmylbn.com_新闻资讯_第3张
口镜怎么探秘口腔医院之——口镜_https://www.jmylbn.com_新闻资讯_第2张

为什么要带我到口腔医院里呢?

嘻嘻,灵感无处不在!一个idea的诞生往往来自于对生活中司空见惯的事物的深究和思考。正所谓“生活中不是缺少创新灵感,只是缺少捕捉创新灵感的思维“,我们就去口腔医院里看看那些实用又重要的发明专利,让创新的火花在探索和学习过程中迸出来!

口镜怎么探秘口腔医院之——口镜_https://www.jmylbn.com_新闻资讯_第3张
口镜怎么探秘口腔医院之——口镜_https://www.jmylbn.com_新闻资讯_第2张

好哇!我们一起粗发吧~

你也想要了解专利吗?想要培养创新思维吗?想要揭开专利神秘又高级的面纱吗?那就一起粗发吧~

医生在治疗病人ing……小智看到医生手上小巧明亮的“长柄手持小镜子“,他好奇极了!

这小东西是什么呢?

口镜是牙科器械,属于一类医疗器械

口镜根据设计不同分为前表面口镜、双面口镜、平面口镜和凹面口镜。

前表面口镜成像质量好、不会变形、没有重影,所以是临床最常用的口镜。

根据材质和消毒方式不同,分为塑料一次性口镜和金属口镜。

金属口镜可在消毒后反复使用。它分为三部分:第一个部分是手柄,有许多纹路,增大摩擦力,方便握持;第二部分是颈部,为连接杆,通常金属口镜颈部可拆卸,可将口镜首尾分别消毒;第三部分是镜片。金属口镜手柄末端检查时可用于叩诊。

这个用来做什么?

牙科口镜的用途

牙科口镜用来做什么?

  • 获得间接视野

    可以用牙科口镜观察不能直视看到的牙齿表面,如牙齿的远中面、舌面和上颌牙的合面等,或者口内结构。

  • 牵拉

    牵拉指的是,使用口镜头部牵拉患者的颊部、黏膜或舌头,使医生可以看到被这些软组织遮盖的牙齿表面。

  • 间接照明

    间接照明指的是,用口镜将光线反射到口内黑暗区域的牙齿表面。以反向或聚集光线到检查部位,增加局部照明,必要时可用凹面口镜放在影象。

  • 透照

    透照指的是,用口镜将光线反射通过前牙,检查上颌前

牙科口镜使用中的小窍门

使用下列技术之一可以防止反射面起雾

  1. 用患者的颊粘膜加温口镜反射面

  2. 请患者通过鼻子呼吸

  3. 使用专用防雾溶液擦拭反射

牙科口镜使用中的注意事项

避免使用口镜撞击患者牙齿。不要让口镜头部的边缘压在患者的牙龈组织上。

医生的食指和大拇指亦可用来牵拉,在牵拉患者的嘴唇,使用手指牵拉会比使用口镜更让患者感觉舒适。

向上滑动阅览对话

口镜怎么探秘口腔医院之——口镜_https://www.jmylbn.com_新闻资讯_第2张

原来专利发明就是用来解决或者改进生活中的难题的呀!为了更好的看到狭小黑暗的口腔而设计出口镜,真巧妙!

举一反三,看这是我在万方数据库找的的专利,你以后也可以通过这些数据库查找感兴趣的专利哦!登陆四川大学图书馆,基本的专利都可以在网站上查看。

口镜怎么探秘口腔医院之——口镜_https://www.jmylbn.com_新闻资讯_第8张
口镜怎么探秘口腔医院之——口镜_https://www.jmylbn.com_新闻资讯_第3张

更多专利检索方法,请参见往期推送哦~

口镜怎么探秘口腔医院之——口镜_https://www.jmylbn.com_新闻资讯_第3张

“改进视野”创新——多角度可调节式口镜

目前临床常用的口镜镜体均通过固定角度与手柄连接,如镜体与手柄形成150°夹角,或镜体与手柄在同一平面内,且无自带光源,均是通过反射牙椅照明灯提供光线。

使用这种口镜观察难以直视的部位时,如上颌牙牙冠的颊腭侧和近远中颈部、上下颌牙的髓腔内部等时,常常需反复调节口镜的角度、患者的体位和牙椅照明灯的角度,十分影响医师的观察和操作,不仅延长治疗时间,还使患者的舒适度大幅降低。

因此,固定角度的口镜不能实现更多角度的观察,且不能良好地适应多种使用场景

这个专利是怎样解决使口镜角度可变的这个问题呢?其实它只采用了一个机械结构原理很简单的装置。

口镜怎么探秘口腔医院之——口镜_https://www.jmylbn.com_新闻资讯_第11张

1-镜框,2-第一支臂,3-臂座,4-第二支臂,5-推拉杆,8-复位扭簧,9-锥形块,10-转动齿,11-限位边槽,12-滑动平台,13-手控部

手动调节镜体与手持部分夹角的过程可以描述为:

初始状态下复位扭簧处于压缩状态,给第二支臂一个向外的推力,使得此时镜体与手持部分夹角最大;通过推动手控部推钮向前,与之相连的推拉杆也向会前运动,锥形块插入第二支臂与柄体间隙,实现镜体平面顺时针旋转,与手持部分之间夹角变小。

同理,推动手控部推钮向后,可实现镜体平面逆时针旋转,与手持部分之间夹角变大。

是不是感觉这样一个容易理解的构造想法,就搭起了“怎么让口镜角度可变,扩大视野范围?”这一问题从提出到被解决的桥梁?

小小的口镜还有什么问题呢?


“因人而异”创新——儿童使用挡舌口镜

在对牙齿进行检查的同时,有时候需要同时对牙齿进行治疗,例如可能用到带有尖端的工具对牙齿缝隙之间的食物残渣进行清理。

在检查治疗的过程中,如果患者,尤其是小朋友患者不配合,随意晃动,可能会伤到患者的舌部

怎样在稳定好舌头的同时进行检查和操作呢?可不可以在原有的口镜上加一只“手”按住小朋友活泼的舌头呢?

口镜怎么探秘口腔医院之——口镜_https://www.jmylbn.com_新闻资讯_第12张

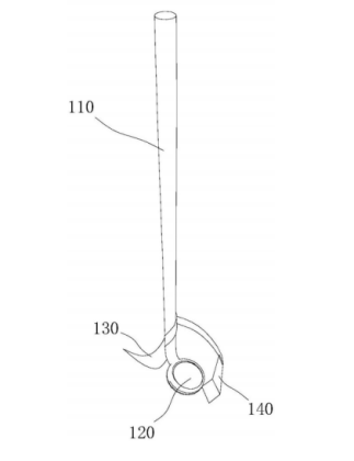
110-手柄;120-镜片;130-挡舌片;140-颊部支撑片

在这个设计中,口镜手柄靠近与镜体连接处,通过转动连接了硅塑胶材料制作的挡舌片,挡舌片呈弯曲的钩状结构用于勾住靠近连接部的舌部,防止医疗工具误伤舌部。

挡舌片与手柄可转动连接;当镜片的角度调整时,由于挡舌片能够相对于手柄转动,因此挡舌片始终能够护住舌部。

不仅如此,手柄的第一端还设置有颊部支撑片,用于将腮部支撑起来,使得腮部内壁与牙齿之间留出较大的操作空间。

颊部支撑片为弯曲的片状结构,其与颊部内壁支撑变形后的形状匹配。并且颊部支撑片与手柄也是可转动连接,当需要调整镜片的角度时,颊部支撑片仍然能够支撑颊部,使得颊部内壁远离牙齿,给治疗工具留出了较大的操作空间。

向上滑动阅览对话

口镜怎么探秘口腔医院之——口镜_https://www.jmylbn.com_新闻资讯_第2张

一个小镜子竟然有这么大的作用,而且从不同角度思考还会有不同的创新点子呢!

是的呀!所以继续锁定我们医创口腔医院探秘系列,继续了解更多医疗器械知识,收获更多启发吧~

口镜怎么探秘口腔医院之——口镜_https://www.jmylbn.com_新闻资讯_第3张


 SCU  SOMA 

多角度可调式口镜

申请号:CN201610354610.0

申请日:20160526

发明人:吴大明; 孙超; 于海燕; 梁睿贞;周广超;王晶艳;杨连丰

申请人:南京医科大学附属口腔医院

申请人地址:210029 江苏省南京市鼓楼区汉中路140号

当前权利人:南京医科大学附属口腔医院

公开(公告)号:CN105816145B

公开(公告)日:2017-11-03


一种儿童使用挡舌口镜

申请号:CN201820666947 .X

申请日:20180504

发明人:郑黎薇;余艺;杨燃

申请人:四川大学

申请人地址:610000 四川省成都市一环路南一段24号

当前权利人:四川大学

公开(公告)号:CN208808437U

公开(公告)日:2019-05-03

口镜怎么探秘口腔医院之——口镜_https://www.jmylbn.com_新闻资讯_第15张

文案 赵一明 刘彭博

排版陈立

审核 | 吴晓悦 廖文老师