医疗机器有哪些发力手术机器人,联影一天拿下9项专利

新闻资讯2026-04-26 01:35:57

器械之家

医疗器械媒体报道先锋

分享专业医疗器械知识

来源:器械之家,未经授权不得转载,且24小时后方可转载。

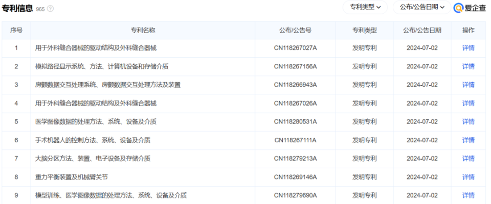
爱企查信息显示,7月2日联影集团子公司联影智融一天内新增9项医疗发明专利。


医疗机器有哪些发力手术机器人,联影一天拿下9项专利_https://www.jmylbn.com_新闻资讯_第1张


包括:1)于外科缝合器械的驱动结构及外科缝合器械、模拟路径显示系统;2方法、计算机设备和存储介质;3)房颤数据交互处理系统、房颤数据交互处理方法及装置;4)用于外科缝合器械的驱动结构及外科缝合器械;5)医学图像数据的处理方法、系统、设备及介质;6)手术机器人的控制方法、系统、设备及介质;7)大脑分区方法、装置、电子设备及存储介质;8)重力平衡装置及机械臂关节;9)模型训练、医学图像数据的处理方法、系统、设备及介质。


资料显示,联影智融隶属于联影集团,总部位于武汉,并在北京、上海、深圳、常州等地设有子公司,作为联影集团在湖北的重要布局,联影智融自成立伊始便扎根湖北,汇聚了临床医学、人工智能等领域的精英人才,先后与华中科技大学、武汉大学、华中科技大学同济医学院附属同济医院、武汉大学中南医院等各界力量开展产学研医融合创新,并牵头湖北省科技厅、武汉市科技局多项重点科研项目。


01

手术机器人达成国产首个

拿下“快速通道”开通后首个专利


器械之家注意到,5月起联影智融公布的专利数量快速增长,5月取得35项、6月取得36项,多是涉及手术机器人、活检穿刺设备、超声骨刀等。显示出联影智融的各项研发进度取得了高速进展。


医疗机器有哪些发力手术机器人,联影一天拿下9项专利_https://www.jmylbn.com_新闻资讯_第2张


2023年10月,联影智融的神经外科手术导航定位系统 uNav-Brain 550 获NMPA批准上市。作为业内国产首款装置医用级机械臂,以及首款实现机械臂术中平面、轴向六方向高精度微调的手术机器人,uNav-Brain 550精准实现了最小术中微调步进0.1mm,结合机械臂精准定位,实现术中定位误差小于0.2mm,全面满足神经外科手术的精准需求。


医疗机器有哪些发力手术机器人,联影一天拿下9项专利_https://www.jmylbn.com_新闻资讯_第3张

uNav-Brain 550辅助完成右侧颞叶SEEG植入术

联影神经外科机器人针对多种神经外科术式已与国内多家顶级神经外科团队,如四川大学华西医院、华中科技大学附属同济医院、上海交通大学附属瑞金医院卢湾分院、首都医科大学三博脑科医院等团队开展科研临床合作,已经形成了机器人辅助的神经外科临床解决方案。


该手术机器人的临床试验共完成了近200条路径,涉及多种术式,均具备有较高的入颅点及靶点定位精度,整个研究中未发生试验器械相关的不良事件和严重不良事件。


快速预审,拿下首个专利


近期,武汉知识产权保护中心启动高端装备制造领域专利预审服务后受理,高端装备制造业是武汉加快发展的9大支柱产业之一,是继光电子信息产业后,武汉获批的第二个专利快速预审领域。


5月6日,武汉企业一项关于手术机器人高端装备的专利,由常规申请2年获授权,到2个月后就获得了国家知识产权局授权,这也是武汉知识产权保护中心启动高端装备制造领域专利预审服务后受理的首个专利。


这一专利便是来自联影智融。该专利针对神经外科手术机器人中的机械臂存在的尺寸大、运行不平稳、调节过程不便等问题,设计了全新的机械臂、手术机器人系统,让神经外科疑难病症综合诊疗更精准、高效、智能。


武汉联影智融医疗科技有限公司知识产权部负责人向长江日报介绍,今年2月提出专利申请,4月下旬就获得授权,如果没有专利预审快速通道,企业发明专利从申请到授权通常要2年,而且预审通道全程无费用,为企业节省了不少时间和经济成本,“这是企业遇到的效率最高、服务最好的专利申请渠道”。


02

25亿投建高端医疗装备研发中心

建设医疗机器人、医疗可穿戴设备等生产基地

2023年,联影智融医疗创新总部基地正式签约落地光谷;2025年,新基地预计将全面竣工。联影智融计划总投资25亿元,在光谷建设联影智融医疗创新总部基地,打造高端医疗装备研发中心,重点布局前瞻医疗产品技术,针对高端医疗治疗康复设备领域“卡脖子”问题开展技术攻关;同时落户建设医疗机器人、医疗可穿戴设备、医疗3D打印等产品智能化生产基地。


去年末项目传来新进展。2023年12月21日,武汉联影智融医疗科技有限公司以3043万元的成交价拿下东新工DK(2023-01)03号工业用地。该宗地位于三星巷以南、九峰一路以北、光谷三路以东。规划净用地面积42080.67平方米。


根据武汉市东湖高新区的意见:该地块用于工业项目(行业类别:制造业→C358医疗仪器设备及器械制造)建设,固定投资强度不低于800万元/亩,产出强度不低于1200万元/亩,年亩均税收强度不低于50万元,竞得人应于土地出让合同签订之日起12个月内开工,开工之日起36个月内竣工。


医疗机器有哪些发力手术机器人,联影一天拿下9项专利_https://www.jmylbn.com_新闻资讯_第4张

03

神外机器人赛道发展迅猛

截至2023年底,国内已有约40款手术机器人产品获得NMPA批准上市,产品覆盖腹腔、骨科、神经外科、血管介入、口腔种植等多个细分领域。


其中,神经外科手术机器人发展迅猛。除了国外Prosurgics、Medtech、Renishaw等公司成功研发神经外科手术机器人外,国内柏惠维康、华科精准和华志微创的多款神经外科手术机器人也陆续获得NMPA批准上市,并投入临床应用。


柏惠维康

2018年4月13日,北京柏惠维康科技有限公司“睿米”神经外科手术机器人(Remebot)正式通过 CFDA 三类医疗器械审查,成为国内首家正式获批的神经外科手术机器人。它也是该领域全球第二款在原产地获批的产品,填补了国内空白。


Remebot实现计算机手术规划平台、视觉手术导航平台和机器人手术操作平台三平台于一体,可实现抽吸、 损毁、植入等不同操作,辅助治疗包括脑出血、脑囊肿、癫痫、帕金森病等在内的十二类神经外科疾病。


医疗机器有哪些发力手术机器人,联影一天拿下9项专利_https://www.jmylbn.com_新闻资讯_第5张


华志微创


2017年华志微创的“CAS-R-2型无框架脑立体定向手术系统获批上市”。

医疗机器有哪些发力手术机器人,联影一天拿下9项专利_https://www.jmylbn.com_新闻资讯_第6张


CAS-R-2覆盖了无框架脑立体定向手术全流程,可帮助医生进行手术规划,准确定位病灶,提高手术安全性,缩短手术时间,让患者恢复时间更短,具体可以辅助医生完成脑出血、脑脓肿、脑活检、颅内异物、颅内肿瘤内放疗、化疗囊植入、脑内核团毁损、颅内电极植入(DBS/SEEG)、辅助显微镜手术(定位)和辅助脑室镜手术(定位和把持)等多类神经外科疾病的治疗。


华科精准


华科精准SR1神经外科手术机器人是全国唯一获得中国NMPA、美国FDA双认证的产品,已于全国200余家医疗机构应用,市场占有率居全国首位。也是于2018年获批的国家首款创新神经外科手术机器人产品。


医疗机器有哪些发力手术机器人,联影一天拿下9项专利_https://www.jmylbn.com_新闻资讯_第7张


此后,华科精准还推出了世界上首款采用3D结构光和Holoshot智能感知技术的手术机器人产品SINOBOT X1 神经外科手术机器人;以及国内首款神经外科微型手术机器人Q300等产品。


医疗机器有哪些发力手术机器人,联影一天拿下9项专利_https://www.jmylbn.com_新闻资讯_第8张


捷迈邦美

捷迈邦美于2016年收购法国手术机器人公司Medtech,ROSA One Brain系统是Zimmer Biomet在其ROSA Brain的基础上改进的新一代神经外科机器人。


2014年“ROSA Brain”脑部手术机器人在我国获NMPA批准上市。2020年,Medtech的新一代可同时进行脑部和脊柱手术的“ROSA One”登陆中国市场。


医疗机器有哪些发力手术机器人,联影一天拿下9项专利_https://www.jmylbn.com_新闻资讯_第9张

——


2023年中国公立医疗机构神经外科手术导航系统及手术机器人采购情况(公开中标)

医疗机器有哪些发力手术机器人,联影一天拿下9项专利_https://www.jmylbn.com_新闻资讯_第10张

数据来源:众成数科

从2023年中国公立医疗机构神经外科手术导航系统及手术机器人采购数据来看,神经外科手术机器人中标金额高达2.02亿元,其中国产品牌占市场份额的98.30%,市场表现亮眼。联影智融切入这一赛道,有望进一步巩固国产品牌的主导格局。那么未来,该公司还将在哪些机器人领域发力?器械之家将持续关注。