拆线包有什么器械【护理小发明】一次性外科拆线器

新闻资讯2026-04-24 03:29:46

拆线包有什么器械【护理小发明】一次性外科拆线器_https://www.jmylbn.com_新闻资讯_第1张

拆线包有什么器械【护理小发明】一次性外科拆线器_https://www.jmylbn.com_新闻资讯_第2张

手术拆线关乎患者康复体验。


传统拆线方式,

会因为操作者力度把控不当、

器械设计缺陷等问题,

给患者带来痛苦。


现在,

新型一次性外科拆线器来了,

它究竟有何独特之处?

快随我们一同深入了解!

拆线包有什么器械【护理小发明】一次性外科拆线器_https://www.jmylbn.com_新闻资讯_第3张
拆线包有什么器械【护理小发明】一次性外科拆线器_https://www.jmylbn.com_新闻资讯_第4张
点分享
拆线包有什么器械【护理小发明】一次性外科拆线器_https://www.jmylbn.com_新闻资讯_第5张
点收藏
拆线包有什么器械【护理小发明】一次性外科拆线器_https://www.jmylbn.com_新闻资讯_第6张
点在看
拆线包有什么器械【护理小发明】一次性外科拆线器_https://www.jmylbn.com_新闻资讯_第7张
点点赞






一次性外科医用拆线器属于医疗器械,是一种专为外科手术设计的拆线器,通常用于手术伤口缝合后缝合线的拆除工作。


技术背景


手术患者缝合部位愈合后,拆线处理是必经步骤。传统的拆线工作依赖于拆线剪刀,这些剪刀大多设计为剪臂与剪刀片直线相连,或剪刀片呈月牙状弧形。


在使用拆线剪刀时,医务人员需要将拆线剪刀片的尖端与患者皮肤保持一定的角度,以便插入缝合线下方进行剪断。如果医务人员的力度掌控不当,极易导致剪刀片刺入患者皮肤,造成意外伤害。此外,剪刀片尖端宽厚,不仅难以顺利插入缝合线下方,还会在插入后将缝合线高高挑起,牵拉创口,不仅影响手术效果,还会给患者带来不必要的痛苦。尽管行业内,已有医务人员对拆线器进行了多种改进,销售市场上也涌现了众多类型的拆线器,但是现有的技术仍未能克服拆线过程中拆线器牵拉手术缝合线,进而牵拉伤口处人体组织,导致患者痛苦的缺陷。


 发明内容


针对现有技术的缺陷,笔者设计了新型一次性外科医用拆线器,其结构简洁、操作便捷,极大地简化了手术后的拆线流程,有效避免了意外伤害和二次伤害,减轻了患者的痛苦。



 技术方案


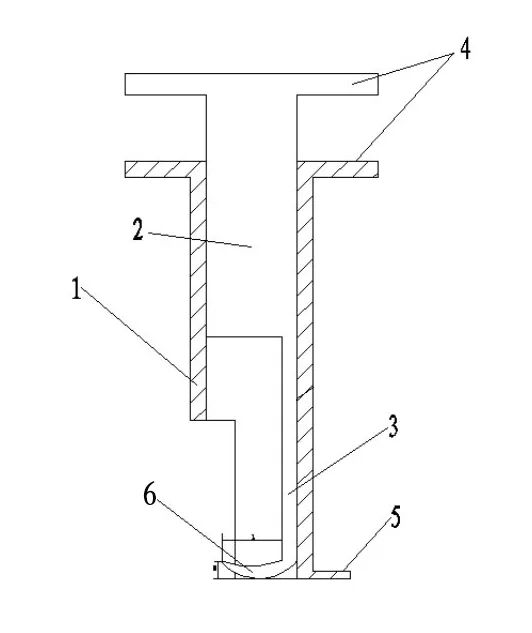
一次性外科医用拆线器主要包括透明的套管和可滑动(设置于套管内腔)的拉杆,拉杆前端装有拆线刀杆。拆线刀杆由拆线杆和设置于其头部的钩状拆线刃组成,拆线刃向拆线杆外周方向伸展弯曲,且头部钝化。


拆线包有什么器械【护理小发明】一次性外科拆线器_https://www.jmylbn.com_新闻资讯_第8张


(1.套管 2.拉杆 3.拆线刀杆 4.把持手柄 5.压线盘 6.拆线刃 )


在使用时,操作者通过钩状拆线刃轻松穿过手术缝合线,随后下压套管,使其前端压住手术缝合线需要剪断的两侧。接着,向外拉动拉杆,拆线刃即切断手术缝合线,完成拆除。由于拆线刃头部钝化,有效避免了刺入皮肤的风险;同时,套管对手术缝合线的压迫作用,防止了手术缝合线被高高挑起,从而避免了拆线时对伤口的牵拉,减轻了患者的痛苦。


为进一步优化技术方案,拆线刃的长度控制在1毫米~3毫米,总高度不超过2毫米,以适应外科手术缝合线细小的特点,确保拆线过程顺利进行。


此外,拆线杆与拆线刃、拆线刀杆与拉杆,均设计为一体化结构或分体结构,以满足不同类型的使用需求。拆线刀杆的直径小于或等于拉杆的直径,以确保拆线的精准度和稳定性。为了方便操作者使用,套管和拉杆的后端设有把持手柄,由套管、拉杆的端部向周围延伸而成。同时,套管前端设有压线盘,由套管前端向周围延伸而成,其下表面设计为粗糙表面,以增大与手术缝合线的接触面积和摩擦力,防止切断时的牵拉。


另外,拆线刀杆可设置于拉杆中心的一侧,拆线刃则伸向拉杆的中心方向,使拆线时的手术缝合线切断点靠近拉杆中心,即处于套管的包围结构中,减少偏心力,便于操作。套管的后端设计为完整的圆筒状,前端则为(大半圆)不完整圆筒状,以适应拆线刃的头部朝向和压线盘的形状。这种设计不仅便于观察,还更易于拆线刃穿过手术缝合线,进一步降低患者的二次伤害风险。与现有技术相比,这种实用新型的外科医用拆线器具有结构简单、使用方便、拆线操作简便、避免意外伤害和二次伤害、减轻患者痛苦等显著优点。(作者供职于河南省安阳市中医院)





责编:郭娅妮
审核:李伟强
终审:杜海燕


拆线包有什么器械【护理小发明】一次性外科拆线器_https://www.jmylbn.com_新闻资讯_第9张