病床监护仪怎么看重症监护单元ICU怎么新建,又怎么改造?技术锦囊在这!

新闻资讯2026-04-21 19:42:27

病床监护仪怎么看重症监护单元ICU怎么新建,又怎么改造?技术锦囊在这!_https://www.jmylbn.com_新闻资讯_第1张

长按识别二维码查看


重症监护病房如何建?
病床监护仪怎么看重症监护单元ICU怎么新建,又怎么改造?技术锦囊在这!_https://www.jmylbn.com_新闻资讯_第2张

重症监护单元ICU,专门收治内科、外科等各科患有呼吸、循环、代谢及其他全身功能衰竭的病人、抑或是随时可能发生急性功能不全或生命危险的病人,然后对他们进行集中监测和治疗管理。





重症监护单元,是应用先进的诊断、监护和治疗设备与技术,对病情进行连续、动态的定性和定量观察,并通过有效的干预措施,为重症患者提供规范的、高质量的生命支持,改善生存质量。重症患者的生命支持技术水平,直接反映医院的综合救治能力,体现医院整体医疗实力,是现代化医院的重要标志。

采用洁净技术建设的洁净重症监护室,可以通过有效控制病房空气中的尘埃粒子和细菌数量,达到降低和控制重症病人细菌性感染率的目的,为临床救治提供了良好环境条件。空气洁净技术是重症监护病房防止外源性感染的主要措施,控制污染作用显著, 已成为现代医院降低感染率,提高医疗质量的重要技术手段。

合理的人流物流的医疗流向,各行其道,尽量减少各种干扰和交叉感染。

1.医护人员流线:专用通道→换鞋→更衣→洗手→清洁走廊→各自工作域区

2.患者流线:病人入口→换床→洁净走廊→病房

3.清洁物品流线:洁净物品入口或气动物流口经缓冲、脱外→无菌物品室→各病床。

4.污物流线:病房或处置室→污物走廊→污物间清洗或污物暂存→专用污梯(或楼梯)

重症监护单元ICU,作为能够独立发挥治疗护理功能的单项工程,它包括土建、给排水、医用气体、通风和空调、信息化建筑工程和设备及工器具的安装工程。各个专业的设计和施工,又有哪些特殊之处?


装饰装修工程
1.重症监护单元(ICU)医疗建筑布局

ICU病房的位置应与手术部相邻或相近布置,这样既方便护士去手术室接送病人又减少污染。外科ICU应设在这些科室的附近,便于转人、转出和联系,并且靠近相关科室,如化验室、血库等(就更利于工作)。重症监护单元(ICU)在其平面布局、人流物流、通风空调系统、电气系统、给排水系统等方面都有其特殊性。布局上需考虑三区划分(清洁区、半污染区及污染区),便于气流组织及压力梯度的形成。

2. 重症监护单元(ICU)与科室间的关系图

病床监护仪怎么看重症监护单元ICU怎么新建,又怎么改造?技术锦囊在这!_https://www.jmylbn.com_新闻资讯_第3张


3. 重症监护单元(ICU)洁净工程各功能间的关系图见图

病床监护仪怎么看重症监护单元ICU怎么新建,又怎么改造?技术锦囊在这!_https://www.jmylbn.com_新闻资讯_第4张


护士站设在ICU病房中央,并设有一台监视全科病人的心电监护仪可显示全科病人的心电情况。现代高科技用于护理管理大大减轻了医护人员的劳动强度,提高了工作效率。ICU病房的入口应设自动门由护士站控制。ICU病房宜设闭路电视供探视者对视对讲,随着网络技术的不断发展及智能手机普及手机移动探视已经成为一个趋势。

4.重症监护单元(ICU)设备配置

ICU的设备必须配有床边监护仪、中心监护仪、多功能呼吸治疗机、麻醉机、心电图机、除颤仪、起搏器、输液泵、微量注射器、处于备用状态的吸氧装置、气管插管及气管切开所需急救器材。在条件较好的医院,还配有血气分析仪、微型电子计算机、脑电图机、B超机、床旁X线机、血液透析器、动脉内气囊反搏器、血尿常规分析仪、血液生化分析仪等。

5. 重症监护单元(ICU)病床规模与医护人员比值计算

ICU床位数一般为医院总床位数的2%~8%。ICU床位使用率波动很大,可根据具体情况开设。

床位的计算方法ICU床位=预期ICU年收治病人(800)*平均住ICU天数(4.5)/365天*预期ICU床位使用率(0.8)。

500张床位以下综合医院:8—12张综合ICU病床。

规模与功能分区:总床位数占医院总床位的2%~8%,最佳ICU单元(6—12床)

ICU病房每张床单位要有足够的面积,以利于抢救及各项操作,一般为12~15m2,每张床的距离要在1.2m以上,鼓励在人力资源充足的条件下多设计单间或分隔式病房。单间病房的面积要在16~20m2左右,可以接受特重感染、传染病患者。

每个ICU最少配备一个单间病房,面积不少18m2.每个ICU中的正压和负压隔离病房的设立根据患者专科来源和卫生行政部门的要求决定配备负压隔离病房1—2间.

病区与床位空间:开放式病床12—16m2;单间病房 18—25m2。

医护人员配比:医师与床位比例:0.8~1:1以上;护士与床位比例:2.5~3:1以上。

病人一般平均住ICU的时间是3—5天,病情复杂者2—4周。

6.重症监护单元(ICU)分类

综合ICU包括:外科重症监护病房(SICU)、内科重症监护病房(MICU)、急诊重症监护病房(EICU)等。专科ICU主要包括:烧伤重症监护病房(BICU)、呼吸重症监护病房(RICU)、肾病重症监护病房(UICU)、新生儿重症监护病房(NICU)、产科重症监护病房(OICU)、儿科重症监护病房(PICU)、麻醉重症监护病房(AICU)、移植重症监护病房(TICU)等。冠心病重症监护治疗病房(CCU)、心肺重症监护病房(CPICU)、心脏外科重症监护病房(CSICU)、神经外科重症监护病房(NSICU)。

7.重症监护单元ICU设计

综合ICU洁净病房布局设计

通常采用开放式布置方式,但ICU洁净病室因危重病人居多,发生交叉感染的机会也相应增加。遇有严重感染、传染、服用免疫抑制剂及需要多种仪器监测治疗的病人应与其它危重病人相对隔离,即ICU病室应设置隔离单间。面积宜在18m2~25m2左右。

对于做脏器移植手术后环境等级需百级空气洁净度的病人,ICU病室应设置百级单间。面积宜在18m2~25m2左右。

以上其占地面积宜在16-20平米左右。为便于医护人员能直接观察到病人,面向护士中心监测站的墙壁最好选用玻璃隔断分隔,或应用闭路电视监护。

单间隔离ICU、普通ICU病床之间应设吊帘分隔,以便在做治疗时尊重病人的隐私。隔离ICU及洁净ICU病床之间设玻璃隔断,既满足了洁净要求,又可以使病人免受干扰,还方便了护士观察病情。监护病床的床间净距建议不宜小于1.5米,监护病房单床间建议不应小于12.00平方米。其主要原因是ICU床位必须配有床边监护仪、中心监护仪、多功能呼吸治疗机、麻醉机、心电图机、除颤仪、起搏器、输液泵、微量注射器、气管插管及气管切开所需急救器材。在条件较好的医院还配有血气分析仪、微型电子计算机、脑电 图机、B超机、床旁X线机、血液透析器、动脉内气囊反搏器、血尿常规分析仪、血液生化分析仪等。因此ICU病房每床位占有面积较大,应留有足够的空间。每个ICU最少配备一个单间病房。

每个ICU中的正压和负压隔离病房的设立,可以根据患者专科来源和卫生行政部门的要求决定,通常配备负压隔离病房1~2间。鼓励在人力资源充足的条件下,多设计单间或分隔式病房。

国内常用的ICU床位面积:开放式监护室每床占用面积为7~10平方米,2~4床单元的每床占用面积为10~15平方米,床与床之间边距尺寸不小1.5m左右。单间病房的面积要在15~20m2左右,可以接收特危、严重感染、传染病患者。就监护单元而言,其总面积一般为床位面积的2~3倍。

综合ICU病房及辅助用房组成及分类

1)ICU病房及辅助用房的的组成:ICU病房分为三个功能区:医护人员办公区、重症监护治疗区、污物清洗消毒区。

2)ICU洁净病房及辅助用房的的分类

医护人员办公区:

更鞋与衣帽发房间、男女更衣(卫浴)间、清洁走廊、医生办公室、护士办公室、主任办公室、护士值班室、医生值班室、餐厅、会议室、配餐室、化验室。

重症监护治疗区:

a.开放式监护室——接收一般性重症患者。

b.小单元式监护室(2~4床)——接收中等危病患者。

c.单间监护室——接收特危、需要处于正压房间的患者。

d.隔离监护室——收治具有传染性疾病的重症患者。

e.护士站——即中心监护站,直接观察所有监护的病床。应在适中位置,视线畅通,便于观察监护病人面部表情,护士站与监护室处于同一空间。护士站设有报警监护仪,用计算机进行数据记录、分析、存储。设院内网、互联网、电话、中央监控、对讲、背景音乐控制接口、多设电源插座(一般都在12个以上)等。同时护士站要有一定的储藏空间,便于各类表格的存放,要注意其高度的设置,便于护理人员工作与观察,做到简洁大方。

f.治疗准备室——宜设置在护士站附近,便于医护人员操作,室内要有操作台、物品柜、治疗车、抢救车、锐器盒、医疗和非医疗分色废物桶、冰箱。面积一般为9平方米以上。

g.处置室  宜与治疗室或治疗准备室相邻。处置室要设置处置台、水池、医疗和非医疗分色废物桶、储物柜。处置室与治疗室或治疗准备室的空间最好用玻璃隔断分隔,便于护理人员观察。

h.器械室  ICU治疗区域的适当位置,面积一般不小于10平方米。

i.治疗室(或换药室)宜设置在护士站、处置室附近,室内宜有物品柜、换药床、治疗车操作台、洗手池、医疗和非医疗分色废物桶。面积不宜低于9平方米。

j.储存室  存储辅料器材、其他备用床具。一般随床位数量确定。

k.高营养配制  患者营养液配置,一般位于房间尽头。

l.库房  存储被服被单、床具杂物等。

m.家属接待室或谈话间,积一般不小于4平方米。

污物清洗消毒区:

a.便盆处理间  用来倾倒患者的大小便或呕吐物。并对便盆进行清洗。该间设有大小便倾倒池,清洗池。同时对便盆进行浸泡、消毒、控干、存储。面积一般不宜小于9平方米。

b.污物间  分类收集、中转存放各类污物、清洗、存放保洁用品,内放污医车(袋)、保洁车及保洁物品,设水池。面积一般不小宜于6平方米。

综合ICU病房布局方式

ICU的布置方式以床位与护士站的相互关系可分为:单面式、双面式、三面式、环绕式。

1)单面式:病床沿病房一侧一字形排开,辅助房间布置在另侧。护士站面向病床一个方向,注意点集中,但护理距离较长。弥补的方法是在病房的两端分设两个护理小组,治疗室设在近护士站的位置,可减少护理距离过长的弊病。

病床监护仪怎么看重症监护单元ICU怎么新建,又怎么改造?技术锦囊在这!_https://www.jmylbn.com_新闻资讯_第5张

图单面式ICU病房布局方式

2)双面式:病房沿病房两侧布置。中间设两个护士站及主要治疗用房,两名护士面向病房的两个方向,医生办公等其实辅助用房布置在病房的走廊外侧。其优点是护理距离较短,布局紧凑避免了单面式的不足。见附图双面式ICU病房布局方式。

病床监护仪怎么看重症监护单元ICU怎么新建,又怎么改造?技术锦囊在这!_https://www.jmylbn.com_新闻资讯_第6张

图 双面式ICU病房布局方式


3)三面式:病床沿病房的三个方向布置。中间设护士站及主要治疗用房,多名护士面向病床的三个方向,这样做的优点是护理距离较短,护理人员集中,便于监护及医护人员互相支持 (见附图)。

病床监护仪怎么看重症监护单元ICU怎么新建,又怎么改造?技术锦囊在这!_https://www.jmylbn.com_新闻资讯_第7张

图三面式ICU病房布局方式

4)环绕式:核心部位设置护士站,病床绕护士站布置。医护人员可以边工作边观察,护理距离短,有利于提高工作效率。缺点是周围都是病人,不是集中在一个方向,难于专注。护士站距治疗及辅助用房距离较远,联系不便(见附图双面式ICU病房布局方式)。

病床监护仪怎么看重症监护单元ICU怎么新建,又怎么改造?技术锦囊在这!_https://www.jmylbn.com_新闻资讯_第8张


图 环绕式ICU病房布局方式

8.NICU病房设计

NICU属于专科性ICU,同时又隶属于新生儿科,和产科关系很密切。NICU的人流/物流的流线线较为复杂/强度和频度也较高。环境要求无噪音干扰、无污染,又便于消毒,一般在医院建筑中独成一区,一般设在病房楼尽端,有独立出入门户和可控制环境。


给水、排水工程

后续文章再做分享,或者后台联系小编。


通风、空调工程
PART 01
室内设计参数

病床监护仪怎么看重症监护单元ICU怎么新建,又怎么改造?技术锦囊在这!_https://www.jmylbn.com_新闻资讯_第9张

ICU主要技术指标 

1)TICU(移植重症监护病房)收治刚做完移植手术的患者;

2)ICU对噪音有着较高的要求。ICU噪音如果过高,不仅会刺激人体的交感神经,使心率加快,血压升高,还会让疼痛病人的同感加剧,严重影响睡眠,会严重影响患者的康复以及医护工作者对患者的护理和治疗。

PART 02
室外设计参数

室外设计参数:根据《民用建筑供暖通风与空气调节设计规范》(GB50736-2012)中规定的主要城市的室外空气计算参数采用。

PART 03
空调系统

空调系统形式

1)ICU宜按照Ⅲ、Ⅳ级洁净辅助用房进行设计:
对于新建工程的重症监护室,宜采用集中式净化空调系统;
对于
改建工程的重症监护室,可采用带高中效及其以上过滤效率过滤器的净化风机盘管加独立新风的净化空调系统或者净化型立柜式空调器。[9]

2)TICU(移植重症监护病房)应采用集中式净化空调系统。

3)对于非洁净区域如办公区,可根据规范《民用建筑供暖通风与空气调节设计规范》GB50736-2012,按照舒适性空调进行设计。

4)不得在ICU的洁净用房内设置采暖散热器和地板采暖系统,但可用墙壁辐射散热板采暖,辐射板表面应平整、光滑、无任何装饰,可清洗。

系统划分

ICU洁净区空调系统和非洁净区空调系统应分开设置,净化空调系统宜24小时连续运行。

当空调机房的面积满足条件时,隔离病房应采用独立的空调系统,并应采用全新风的直流式空调系统。净化空调系统应有便于调节控制风量并能保持稳定的措施。

对于隔离病房,由于该类型病房室内含有可通过空气传染的病原微生物,为防止污染物扩散传播,隔离病房宜设置一套独立的净化空调系统,并且保持负压状态,避免与其他区域共用空调系统而引起交叉污染。

PART 04
空气处理及空调设备选型

空气处理过程

由于ICU相对于手术室洁净级别较低,并且空调机组数量较少,因此ICU净化空调系统的对新风的处理一般采用分散式处理方式,即每个净化空调系统的新风单独从室外引入,新风的热湿负荷由循环机组承担。

当室外温度低于5℃时应对新风进行预热。可以在新风机组入口增加一套预热盘管或者设置电加热装置,在新风温度低于5℃时将其预热至5℃。根据《绿色医院建筑评价标准》GB/T51153-2015第5.1.3条规定,建议采用热水或者蒸汽对新风进行预热处理。

空气处理设备选型

当隔离病房设置独立的空调系统时,应选用全新风式净化空调机组。

对于改造项目的ICU工程,当原有系统为风机盘管加新风的系统形式时,可以采用超低阻高中效风口将原有风口替换,不需要对原有空调系统进行大的改造,从而可以大幅度降低工程造价。[10]

空调机房

ICU净化空调机组应安装在空调机房内,同时应邻近所服务的区域。空调机房应设置于有外墙的区域或者在机房内设置进风井,同时空调机房应就近空调水管道井设置。

ICU净化空调机组包括风机、过滤、表冷、加热、加湿等功能段,相较于舒适性空调机组具有风量大、功能段多、尺寸大、重量重等特点,因此净化空调机组安装于空调机房内有利于日常维修和噪声控制。对于移植重症监护病房,空调机房面积不宜小于净化区域面积的6%,其他类型ICU的净化空调机房面积不宜小于净化区域面积的4%,空调机房楼板荷载不小于300kg/㎡。

净化空调机组安装在邻近所服务的空调区的机房内,可减少空气输送能耗和风机全压、有效地减少机组噪声等。空调机房设置外墙或者进风井,可便于就近采集新风,同时空调机房距离管道井较短可降低空调水系统的能耗及造价。

空调机房内应考虑接入加湿用水或者蒸汽管道,同时应进行排水和地面防水设计。

PART 05
通风空调系统

气流组织

1)ICU病房气流组织

ICU病房宜采用上送下回的气流组织,送风气流不应直接送入病床面,可设置于病床床尾上方。每张病床均不应处于其他病床的下风侧。排风(或回风)口应设在病床床头的附近。

由于ICU患者体弱,又长期紧闭在室内,对室内气流很敏感,特别是晚上。布置送风口时要避免吹风感,气流直接吹经患者的头部。因此ICU送风口应设置在病床床尾上方的顶棚面上。

ICU病房尘埃粒子、细菌主要产生于病床床头,因此在病床床头附近设置回风口或者排风口可以较少微粒在病房内的弥散,能够使散发的微粒尽快得到排除。

病床监护仪怎么看重症监护单元ICU怎么新建,又怎么改造?技术锦囊在这!_https://www.jmylbn.com_新闻资讯_第10张

图ICU气流组织形式

2)其他洁净辅助用房气流组织。

对于无菌物品存放间、洁净走廊等用房的气流组织设计参照洁净手术部洁净辅助用房篇。

风口选型

1)送风口选型

ICU洁净用房在顶棚分散布置送风口,风口规格及数量根据所负责的区域的送风量确定。

洁净用房送风末级过滤器或装置的最低过滤效率应符合下表的规定。对于采用净化风机盘管加独立新风的系统形式,新风系统的末端送风装置亦应符合表的规定。

病床监护仪怎么看重症监护单元ICU怎么新建,又怎么改造?技术锦囊在这!_https://www.jmylbn.com_新闻资讯_第11张

表末级过滤器或装置的效率

2)回风口选型

参照手术部洁净辅助用房回风口选型。隔离病房保持负压状态下为保护室外周围环境,避免污染物外泄引起院内外感染,应在室内排风入口处设高效过滤器。

3)排风口选型

ICU病房应设置上部排风口,其位置宜在病人头侧的顶部。为了室内污浊空气,排风口应设在上部并靠近病床床头的位置。排风口吸入速度不应大于2m/s。

设置排风系统的洁净用房的排风系统的入口或者出口应设置中效过滤器。

对于隔离病房,应采用全新风系统,并在其病床床头附近设置下部排风口,排风入口处设高效过滤器。

4)新风口选型

ICU新风口选型参照洁净手术部相关篇章。

风管及阀门、附件

ICU风管及阀门、附件设计参照洁净手术部相关篇章。

配电间、UPS间等发热量较大的房间宜设置独立的通风系统。排风温度不宜高于40℃。当通风无法保证室内设备工作要求时,宜设置空调降温系统。

排风系统联锁设计

送风、回风和排风系统的启闭宜联锁。正压洁净室联锁程序应先启动送风机,在启动回风机和排风机;关闭时联锁程序应相反。负压洁净室联锁程序应与上述正压洁净室相反。

PART 06
空调水系统

ICU空调水系统设计,后续推文会出,请持续关注。

PART 07
空调冷热源

ICU空调冷热源设计,后续会更新推文,请持续关注。

PART 08

绝热防腐

ICU绝热与防腐设计,请关注后续推文。

ICU电气工程
PART 01
基本要求

ICU属于2类医疗场所(医疗电气设备接触部件需要与患者体内接触、手术室以及电源中断或故障后将危及患者生命的医疗场所,应为2类场所)。见表。

表 医疗场所及设施的类别划分与要求自动恢复供电的时间

病床监护仪怎么看重症监护单元ICU怎么新建,又怎么改造?技术锦囊在这!_https://www.jmylbn.com_新闻资讯_第12张

注:1 (a)指的是涉及生命安全的电气设备及照明。

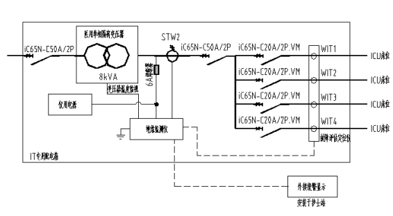
ICU病房及空调设备用电应分别单独设置双电源切换总配电箱,末端互投,电源独立取自低压配电室,配电箱到供电末端采用放射式供电。ICU床位用电属于一级负荷重特别重要负荷,设置在线式应急电源UPS作为备用电源,工作时间不应小于30min;IT专用配电箱电源取自双电源切换总配电箱。UPS间位置设置应考虑后期维护检修方便、设置在非洁净区域,配电深入负荷中心。

UPS配电间面积根据床位数及负荷容量大小确定,ICU每床位单独供电并与辅助用房用电分开,保证每床用电安全可靠,消除相互干扰,每床设计用电负荷按照不小于2KVA考虑。

ICU一般每四床设置一套8KVA.IT系统,系统主要由隔离变压器、绝缘监视仪、外接报警显示等设备组成,实时监测设备、电网的绝缘、负荷、温度等信息,在出现异常时立即动作并报警,以便医护人员及时掌握电源状态。报警装置装在便于永久性监视场所,一般均装在护士站可视位置墙面,并能实现过负荷和高温的监控。

PART 02
导线选择

根据《医疗建筑电气设计规范》-JGJ312-2013.5.5.2要求,二级及以上医院应采用低烟、低毒阻燃类线缆,二级以下医院宜采用低烟、低毒阻燃类线缆。

PART 03
照明

灯具优先选用节能灯具,灯具的造型及安装宜避免卧床患者视野内产生直射眩光。

灯具选用不易积尘、易于擦拭的密闭洁净灯具,尽量选用吸顶安装,照度标准值以300lx为准。在有治疗的房间至少设置1个灯具由应急电源供电,时间不少于30min。

灯具的控制根据房间功能的不同尽可能满足一灯一控,大厅根据需要采用集中控制。

ICU每床根据需要设置夜间照明灯具,安装在床头右侧面距地不低于0.3m。每床吊顶照明灯具满足抢救时相关照明要求,灯具采用单独控制,床头部位照度按照不大于0.1lx,儿科病房按照不大于1lx设置。根据ICU大厅及公共走廊面积,适当选择智能照明,采用集中控制方式实现节能的目的。

病床监护仪怎么看重症监护单元ICU怎么新建,又怎么改造?技术锦囊在这!_https://www.jmylbn.com_新闻资讯_第13张

图总配电箱


病床监护仪怎么看重症监护单元ICU怎么新建,又怎么改造?技术锦囊在这!_https://www.jmylbn.com_新闻资讯_第14张图IT专用配电箱


ICU智能化工程
01
综合布线系统
- ICU智能化 -

ICU综合布线系统主要由工作区子系统、水平布线系统组成;楼层配线间子系统一般由大楼中标智能化公司统一负责,便于系统集成统一。

工作区子系统:医生办公室、主任办公室、护士长办公室及功能用房等点位的布置应根据房间面积及工位等综合考虑;一般可按标准配置,当项目信息化要求较高时,根据甲方要求设置。信息点配置要求可以参考表3.2.4.5-1确定。


工范围划分上,洁净范围内所有点位设置及配线一般由专业洁净单位负责施工,所有布线均需接入到本防火分区内就近弱电间/井内综合布线机柜,弱电间/井内设备配置应由大楼中标的智能化公司统一设置,洁净施工方配合调试。

表3.2.4.5-1 医疗建筑综合布线系统信息点的标准配置和增强配置

02
闭路电视监控系统
- ICU智能化 -

ICU电视监控系统设计一般满足在主要出入口及贵重药品库房、患者床位等能实现全方位、全天候,集防盗、防范、监控监视于一体的防范系统。

系统由前端摄像部分、传输部分、存储系统及显示管理系统组成;系统具有存储、处理、还原等功能,监视装置一般设置在护士站。

洁净部分摄像机分辨率建议不小于720P,主要出入口及大厅分辨率建议不小于1080P,均采用彩色半球摄像机。电源采用集中方式供给,可从就近UPS电源回路配电箱中取自或者集中从每层安防电源箱取自。

03
门禁系统
- ICU智能化 -

门禁系统可采用磁卡、指纹、面部识别、感应卡等作为授权识别的工具,通过控制主机编程,记录进出人员身份、时间等数据。

在ICU医护人员及患者出入及污物出入等重要出入口处设置门禁控制装置,洁净区域的门禁装置应能满足在发生火灾报警时能通过消防联动控制相应区域的出入口处于开启状态;设置在洁净区的自动感应门能在停电后手动开启,兼顾疏散门。


04
背景音乐系统
- ICU智能化 -

背景音乐系统设计主要是满足呼叫找人、播放一些轻音乐使患者放松,能达到一个舒适轻松的治疗环境。设置时应分区设置,在单间、办公室等设置音量控制器,根据需求调节音量大小,具体配置可参考第三篇第一章手术部洁净工程背景音乐系统设计。

05
探视及呼叫系统
- ICU智能化 -

ICU根据医院需求及后期发展需要,一般设置探视及呼叫系统。

ICU常用探视系统主要有设置的移动探视车方式、可视电话方式及借助互联网探视方式等,各个探视方式均有自己的优缺点,在选用时应考虑实际需要设置。

当每床采用可视电话或者互联网探视方式时,一般和常用呼叫系统功能合一;当采用移动探视车方式时,还需要在每床设置呼叫系统。

呼叫系统主要是基于局域网(可跨网段跨路由)和总线结合的传输方式,专门用于医院护士与病床病人之间的呼叫、对讲、广播等;可适用于PICU、ICU、产科病房、负压病房、BICU中心等涉及到其他等需要护理对讲的场所。系统由护士站管理主机、液晶病员一览表、医生值班室主机、病床分机、卫生间呼叫按钮、走廊液晶屏、病房门口三色灯等。可实现病人在病房或卫生间有任何情况一键呼叫,同时具有护士站主机相互托管、呼叫转接、护理増援、输液报警、移动式无线对讲、广播等功能。

ICU消防工程

后续文章再做分享,或者后台联系小编。

ICU医用气体工程

后续文章再做分享,或者后台联系小编。


参考文献

[1] 许钟麟,沈晋明. 医院洁净手术部建筑技术规范实施指南[M].中国建筑工业出版社,2014

[2] GB 50333-2013医院洁净手术部建筑技术规范 [S].中国计划出版社,2013

[3] GB 51039-2014综合医院建筑设计规范 [S].中国计划出版社, 2014

[4] 黄锡璆 中国医院建设指南[M].中国质检出版社 中国标准出版社 2015年第三版

[5]罗运湖. 现代医院建筑设计(第二版)[M]. 中国建筑工业出版社 2010

[6] 黎明. 医疗建筑中新生儿重症监护室(NICU)的建筑设计研究[J].2012年11月

[7]许译心. 安全与尊重--ICU人性化细节设计[J]. 中国医院建筑与装备, 2013(1):47-48

[8] 格伦, 杨天奇. 谈医院病房设计[J]. 中国医院建筑与装备, 2012(9):85-85

[9] 许钟麟,孙鲁春等.创新技术在既有重症监护病房净化空调系统改造中的应用 [J].工程质量,2011,29 (5) :33-36

[10] 龚伟,孙鲁春.新型重症监护病房净化空调系统的应用 [J].暖通空调,2009 , 39 (12) :107-108

[11] 沈晋明.重症监护病房环境控制依据与实施 [J].洁净与空调技术,2006 (2) :48-51

[12]沈晋明,刘燕敏.GB 51039-2014《综合医院建筑设计规范》编制思路[J].暖通空调,2015 (3) :41-46

[13]朱大庆.按世界先进技术和理念建设儿科重症监护病房[J].洁净与空调技术,2008 (1) :76-80

[14]李迎春;;ICU家属弹性探视重要性和可行性[J];工企医刊;2010年02期

[15]王钰姝,屈纪富,孙溦.视频探视系统在ICU的应用及效果[J].解放军护理杂志,2011,28(22):28-30.


病床监护仪怎么看重症监护单元ICU怎么新建,又怎么改造?技术锦囊在这!_https://www.jmylbn.com_新闻资讯_第15张


病床监护仪怎么看重症监护单元ICU怎么新建,又怎么改造?技术锦囊在这!_https://www.jmylbn.com_新闻资讯_第16张

洁净园 | 为中国建设更安全的医院

★★★★★※※※※※※★★★★★

感染控制|医学检验|平疫结合|干细胞移植

复合手术室|ICU病房|日间手术室|通仓交融手术室|实验室

暖通空调|医疗装备|医疗材料|环保节能

★★★★★※※※※※※★★★★★


 PS

任何问题可在文章后台留言咨询或致电

010-68860700


END

病床监护仪怎么看重症监护单元ICU怎么新建,又怎么改造?技术锦囊在这!_https://www.jmylbn.com_新闻资讯_第17张