泰普生物怎么样涉及59起司法案件!又一IVD企业身陷重围!!

新闻资讯2026-04-21 16:55:19

泰普生物怎么样涉及59起司法案件!又一IVD企业身陷重围!!_https://www.jmylbn.com_新闻资讯_第1张

来源:企查查

又一家IVD企业要不行了吗?!!!

近日,据企查查消息:厦门市同安区人民法院对泰普生物采取限制消费措施,限制你单位及你单位法定代表人李劲不得实施以下高消费及非生活和工作必需的消费行为。




泰普生物怎么样涉及59起司法案件!又一IVD企业身陷重围!!_https://www.jmylbn.com_新闻资讯_第2张


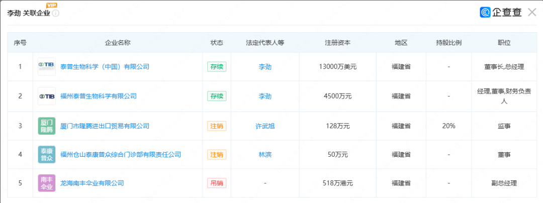
经小编了解,泰普生物法定代表人李劲为公司董事长及总经理。


泰普生物怎么样涉及59起司法案件!又一IVD企业身陷重围!!_https://www.jmylbn.com_新闻资讯_第3张


与李劲关联的企业有5家,其中2家注销,1家吊销。


泰普生物怎么样涉及59起司法案件!又一IVD企业身陷重围!!_https://www.jmylbn.com_新闻资讯_第4张


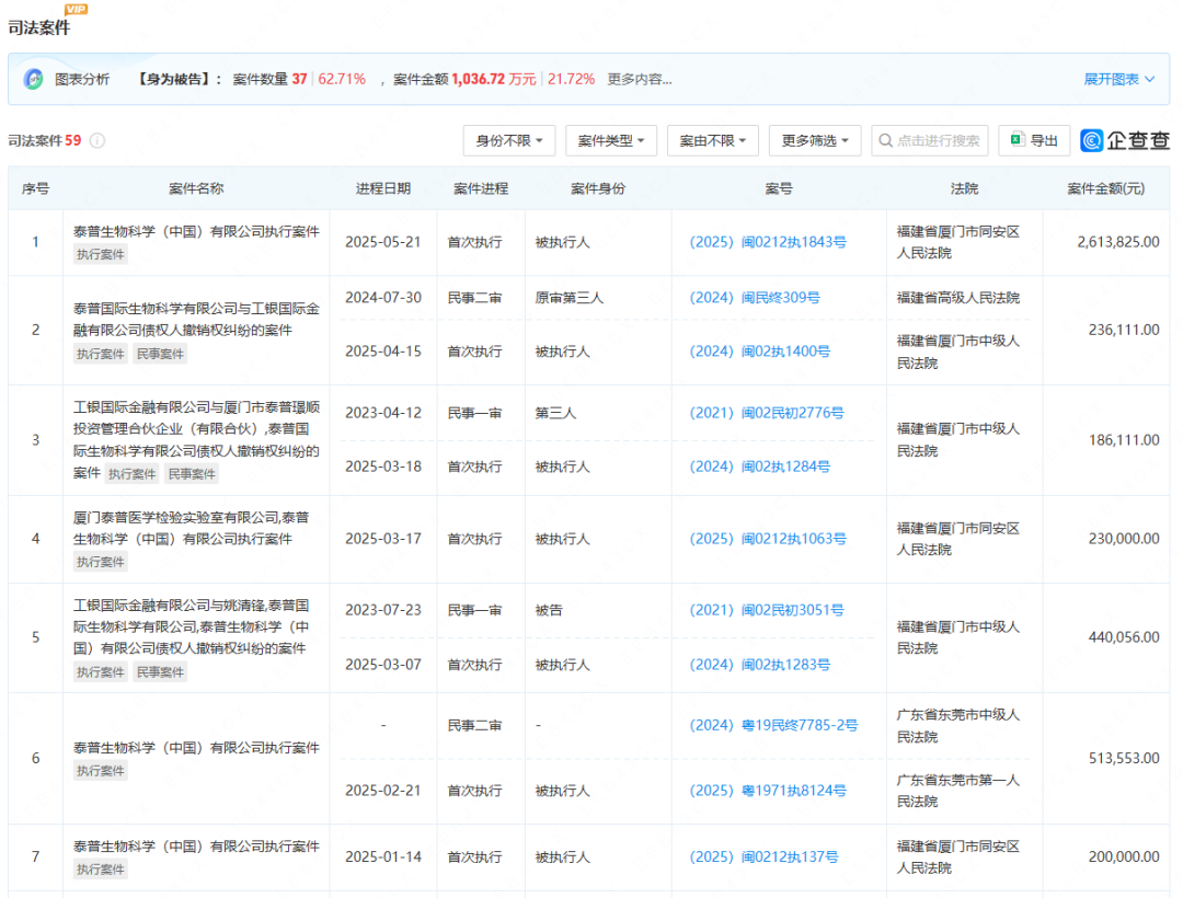
泰普生物列为被执行人,同时被限制高消费,涉及59起司法案件。


泰普生物怎么样涉及59起司法案件!又一IVD企业身陷重围!!_https://www.jmylbn.com_新闻资讯_第5张

泰普生物怎么样涉及59起司法案件!又一IVD企业身陷重围!!_https://www.jmylbn.com_新闻资讯_第6张


身为被告人涉案数量 37起,案件金额 1,036.72 万元。


泰普生物怎么样涉及59起司法案件!又一IVD企业身陷重围!!_https://www.jmylbn.com_新闻资讯_第7张


作为被执行人,被执行总金额: 261.38 万元。

泰普生物怎么样涉及59起司法案件!又一IVD企业身陷重围!!_https://www.jmylbn.com_新闻资讯_第8张


此外,泰普生物有4条股权冻结。被执行人是泰普国际生物科学有限公司,泰普国际生物科学持有泰普生物科学(中国)有限公司100%股份。


泰普生物怎么样涉及59起司法案件!又一IVD企业身陷重围!!_https://www.jmylbn.com_新闻资讯_第9张
泰普生物怎么样涉及59起司法案件!又一IVD企业身陷重围!!_https://www.jmylbn.com_新闻资讯_第10张


小编认为,泰普生物这次陷入一连串官司、被法院限制高消费,其实也反映了现在很多IVD企业过得都不太好。过去几年,这个行业因为疫情需求火了一阵,但随着疫情结束,检测需求大幅减少,企业的收入一下子就下来了。而且国家现在对医疗行业控费越来越严,集采越来越多,IVD产品的价格被压得很低,赚钱变得越来越难。


很多企业原本靠卖检测产品赚快钱,现在不但挣不到钱了,还得继续砸钱搞研发,压力越来越大。像泰普生物这样的企业,如果原本资金就紧张,再遇上回款慢、订单少,很容易陷入经营困境。现在整个行业都在“挤泡沫”,谁能活下来,拼的不只是技术,还有现金流和抗风险的能力。泰普的问题,其实是整个IVD行业困局的一个缩影。


要走出当前的困局,IVD企业不能再靠“卷价格”或短期爆发的红利来维持生存,而是要回归到技术创新和长期价值的正轨上。未来真正有前景的企业,一定是那些能在核心技术上有所突破、拥有自主知识产权、产品临床价值高、符合临床真实需求的公司。同时,要提高产品质量,注重品牌建设,从“性价比”走向“高质价比”。


此外,IVD企业还需要优化自身的经营结构,提升精细化管理能力,控制成本、加快回款、稳住现金流。在国际市场寻找增量空间,也是突围的重要方向之一。国家层面也应进一步完善支持政策,引导行业向高端、智能、精准诊断方向发展。对于IVD企业来说,寒冬终将过去,但想走得远、走得稳,必须比以往更“硬核”。


泰普生物科学(中国)有限公司


泰普生物科学(中国)有限公司(以下简称泰普生物)成立于2004年,其注册资本为13000万美元,是一家集细胞与分子诊断试剂及配套仪器研发、生产、销售以及提供医学诊断服务为一体的高科技生物集团公司,下属多家子公司覆盖了医学体外产业全链条并通过了NMPA医疗器械质量体系核查,获得了一类医疗器械生产备案证、二、三类医疗器械生产许可证、二类医疗器械经营备案证、三类医疗器械经营许可证及主管卫生局颁发的医疗机构执业许可证。


泰普生物怎么样涉及59起司法案件!又一IVD企业身陷重围!!_https://www.jmylbn.com_新闻资讯_第11张


2014年,总投资6亿、占地面积近7万㎡的泰普集团生物科学园一期工程在厦门市环东海域思明工业园已正式投入使用。2016年,泰普生物经福建省人民政府推荐中报“厦门国家健康产业国际创新园”。同年,“厦门国家健康产业国际创新园”被国家科学技术部认定为国家国际合作基地(国际创新园类)。2017年9月,以泰普生物为依托的厦门国家健康产业国际创新园在泰普生物总部隆重开园。开园仪式上,多家国内外有名的企业签订了入园协议。国际创新园分为创新创业孵化区、创新研发合作区、专业服务共享区、国际合作服务区、金融保障服务区及后勤保障服务区六区。其目标是打造世界有名的健康产业特色国际创新园,形成生物与医疗器械产业生态链。


为了方便体外诊断网的读者粉丝朋友们沟通交流,我们特成立体外诊断网全国第105群!欢迎大家扫描下方二维码,入群踊跃发言!


泰普生物怎么样涉及59起司法案件!又一IVD企业身陷重围!!_https://www.jmylbn.com_新闻资讯_第12张

声明:本文仅用于分享,不代表平台立场,如涉及版权等问题,请尽快联系我们,我们第一时间更正,谢谢!


直播预约


热点视频推荐


检验人声小程序