手术头皮夹怎么放手术室创新专利:一种神经外科头皮推夹器

新闻资讯2026-04-21 13:50:00

手术头皮夹怎么放手术室创新专利:一种神经外科头皮推夹器_https://www.jmylbn.com_新闻资讯_第1张

【直播预告】↓


一、研究背景

Innovation

目前在全国范围内开展神经外科开颅手术,均配套使用传统“头皮夹钳”与“一次性头皮夹”,以达到压迫头皮切口渗血,为术者提供清晰术野的作用。具体使用方法:手术操作中,使用每一枚头皮夹,都需要护士手动安装,医护密切配合使用,医生切开头皮后,快速撑开一次性头皮夹,压迫切口止血,又称为“夹闭止血法”


手术头皮夹怎么放手术室创新专利:一种神经外科头皮推夹器_https://www.jmylbn.com_新闻资讯_第2张


图一:传统“头皮夹钳”与“一次性头皮夹”

手术头皮夹怎么放手术室创新专利:一种神经外科头皮推夹器_https://www.jmylbn.com_新闻资讯_第3张

手术头皮夹怎么放手术室创新专利:一种神经外科头皮推夹器_https://www.jmylbn.com_新闻资讯_第4张

图二:“1”为推结夹示意图、“2”为神经外科推夹器示意图。

手术头皮夹怎么放手术室创新专利:一种神经外科头皮推夹器_https://www.jmylbn.com_新闻资讯_第5张

图三:“3”为神经外科推夹器侧面示意图、“4”为操作图。


(2)经过不断的修改和完善,最终的图例展示


手术头皮夹怎么放手术室创新专利:一种神经外科头皮推夹器_https://www.jmylbn.com_新闻资讯_第6张


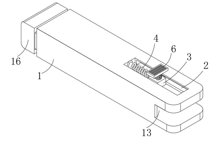
图四:整体结构示意图


手术头皮夹怎么放手术室创新专利:一种神经外科头皮推夹器_https://www.jmylbn.com_新闻资讯_第7张


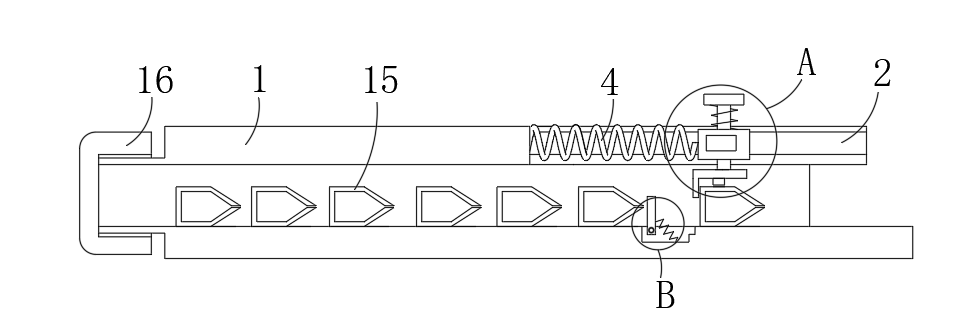
图五:剖面结构示意图

手术头皮夹怎么放手术室创新专利:一种神经外科头皮推夹器_https://www.jmylbn.com_新闻资讯_第8张


图六:为A处放大结构示意图


手术头皮夹怎么放手术室创新专利:一种神经外科头皮推夹器_https://www.jmylbn.com_新闻资讯_第9张


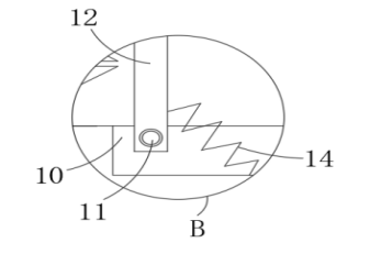
图七:为B处放大结构示意图

备注:1、外壳体;2、滑槽;3、滑块;4、复位弹簧;5、支撑柱;6、按压板;7、压物框;8、压块;9、支撑弹簧;10、安装槽;11、定位柱;12、挡板;13、出夹口;14、顶起弹簧;15、推结夹;16、密封盖。


(3)一种神经外科头皮推夹器操作演示视频:

(4)《一种神经外科头皮推夹器》,于2022年5月10日获得国家实用新型专利授权,专利号:ZL 202122821974.4。


手术头皮夹怎么放手术室创新专利:一种神经外科头皮推夹器_https://www.jmylbn.com_新闻资讯_第10张
手术头皮夹怎么放手术室创新专利:一种神经外科头皮推夹器_https://www.jmylbn.com_新闻资讯_第11张


2.针对上述存在的问题,提出解决方案:

手术头皮夹怎么放手术室创新专利:一种神经外科头皮推夹器_https://www.jmylbn.com_新闻资讯_第12张


作者:陈洁

工作单位:四川绵阳四0四医院(绵阳市第一人民医院)

来源:护士发明之家

推荐阅读

文库:护士专有的精品文库

视频号:护理干货和大咖直播

买书:护理书籍,点击下面“阅读原文”

题库:新指南、新共识、新标准练习题

关注:按护士科室分类的微信公众号