在汽车上使用的气体浓度传感器主要有氧传感器、稀薄混合气传感器、全范围空燃比传感器和烟雾浓度传感器等。
氧传感器安装在发动机的排气管上,它的作用是通过检测排放气体中氧的含量来获得混合气空燃比的稀浓信号,并将检测结果变成电压信号输入ECU,ECU根据氧传感器的输入信号不断地对喷油脉宽进行修正,使混合气体在理想范围内。当监测到的氧气浓度较浓时,提供给发动机ECU的电压较高;监测到的氧气浓度较稀时,提供给发动机ECU的电压较低。氧传感器可分为氧化钛式和氧化锆式两种。
为降低排气污染,目前汽车发动机的排气管上普遍安装了三元催化转化器,它能净化排气中的CO、HC和NOx三种有害气体的成分,但三元催化转化器只在空燃比接近理论值(14.7∶1)的范围内起净化作用。当排气管中装上氧传感器时,根据检测排气中的氧浓度信号,ECU可控制空燃比,使三元催化转化器更有效地起净化作用。
在稀燃发动机领域的空燃比反馈控制系统中,采用了稀燃传感器,这种传感器能够在混合气极稀薄领域中,连续地测出稀薄燃烧区的空燃比,实现了稀薄领域的反馈控制。
全范围空燃比传感器(又称宽域空燃比传感器)能连续检测混合气从浓到稀的整个范围的空燃比。与普通的氧传感器相比,这样的传感器可以在发动机的整个运转范围内实现空燃比的反馈控制,在各个区域上实现最佳油耗、最佳排放及最佳运转性能。
烟雾浓度传感器用于空气净化装置中,该传感器通过检测烟雾浓度,可使空气净化器运转或停止,从而达到净化驾驶室的目的。
目前,汽车上采用的氧传感器有氧化钛(TiO2)式和氧化锆(ZrO2)式两种。氧化锆式氧传感器又分为加热型氧传感器和非加热型氧传感器两种。氧化钛式氧传感器本身带有一个电加热器。大部分汽车使用带加热器的氧传感器,这种传感器是在原来传感器的基础上,增加了一个陶瓷加热元件用于加热传感器,可在发动机启动后的20~30s内迅速将氧传感器加热至工作温度,扩大了空燃比闭环控制的工作范围,故又称为加热型氧传感器。
氧传感器有一线制、二线制、三线制、四线制4种类型。一线制只有一根信号线与发动机ECU连接,传感器的另一极直接搭铁;二线制的两根线均与ECU相连,一根为信号线,另一根进入ECU后搭铁;三线制、四线制均属于加热式氧传感器,由于添加了两根加热电阻的接线,和氧传感器信号线组合成为三线制或四线制。加热电阻的两根接线,一根直接接控制继电器或主继电器,接受12V加热电源,一根由ECU控制搭铁端,控制加热电阻加热时间。氧传感器加热器是正比例系数热敏元件,在传感器与线束断开的情况下,可以通过检测加热器的阻值来对加热元件进行检测。
随着排放法规越来越严格,现在越来越多的车辆都在三元催化转化器的前后端分别安装了氧传感器,称为双氧传感器系统,一个在三元催化转化器之前,称作为主氧传感器或上游氧传感器,用于混合气反馈控制,发动机电控单元根据主氧传感器的反馈信号,增加或减少喷油量,将实际空燃比控制在理论空燃比附近;另一个位于三元催化转化器之后,称作副氧传感器或下游氧传感器,用于监测三元催化转化器的催化净化效率。
当三元催化转化器损坏时,其转化效率丧失,这时在其前后的排气管中的氧气量十分接近,几乎相当于没有安装三元催化转化器,前、后两个氧传感器的信号电压波形就趋于相同,并且电压波动范围也趋于一致,此时表明三元催化转化器转化能力下降。
▲ 单击图片,看视频,快速掌握氧传感器的检测方法
在现代车辆中,为了达到净化排气的目的,除采用三元催化转化方式净化排气外,也可采用稀薄燃烧控制技术。这一技术可有效降低排气中的NOx含量。
稀薄混合气传感器应用在发动机稀薄燃烧空燃比反馈控制系统中,与氧化传感器一样,使用二氧化锆元件测定排气中的氧浓度,从而来测定空燃比。它是在超稀薄燃烧领域进行空燃比的反馈控制,与氧化催化剂结合,达到降低燃料消耗的目的。稀薄混合气传感器主要由氧化铝陶瓷元件和加热器构成,一般安置在排气歧管上。


稀薄混合气传感器的检测方法:
将点火开关置于“OFF”位置,拔下氧传感器的导线连接器,用万用表欧姆挡测量氧传感器接线端中加热器端子与搭铁端子间的电阻,其电阻值应符合标准值(一般为4~40Ω)。如不符合标准值,则应更换氧传感器。
用万用表的电流挡测试传感器的输出电流信号,电流值应随空燃比的增大而增大。
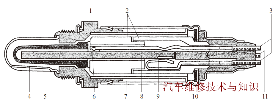
全范围空燃比传感器,又称为宽域型氧传感器、宽量程氧传感器、宽带氧传感器。汽车发动机电控系统全范围空燃比传感器的作用是用来检测混合气从过浓状态到理论空燃比再到稀薄状态整个过程。
一般来讲,全范围空燃比传感器只用于催化转化器之前,催化转化器之后必为普通氧传感器。后氧传感器只负责校验,当前氧传感器出现故障时,发动机进入开环紧急运行状态。查看发动机盖下的标识,如果标识为HOS,则为普通氧传感器;如果标识为A/FS,则为宽域型氧传感器。
全范围空燃比传感器由一个氧气泵单元、普通窄范围浓度差电压型二氧化锆式氧传感器、加热器构成。

1—传感器信号线;2—泵电流输入线;3,4—5V电源线
全范围空燃比传感器一般有6个端子,包括加热线圈电源端子、加热线圈搭铁端子、两个5V电源端子、信号端子、泵电流输入端子。

有些全范围空燃比传感器在内部将两个5V电源端子合并,故只有5个端子。检测方法如下:
① 关闭点火开关,拆下传感器线束连接器,在传感器侧检测加热线圈电源端子与搭铁端子间的电阻值,一般为4~40Ω(具体值查阅车型维修资料)。电阻值如为∞,说明加热线圈烧断,应更换氧传感器。
② 打开点火开关,在线束侧检测加热线圈电源端子与搭铁端子间的电压,正常情况下应为蓄电池电压。
③ 宽带式氧传感器的电源信号只能由ECU转化为电压值显示出来,只能通过读取数据块检测其信号电压。宽带式氧传感器的电压规定值为1.0~2.0V,电压值大于1.5V时说明混合气过稀,电压值小于1.5V时说明混合气过浓,电压值为0、1.5V、4.9V的恒定值时都说明氧传感器线路的故障。
烟雾浓度传感器用于检测烟雾,当烟雾浓度传感器从车室内检测出烟雾后,可自动地使空气净化器运转,没有烟雾时使空气净化器自动停止运转,总是保持车室内空气处于净化状态。烟雾浓度传感器由发光元件、光敏元件及信号处理电路组成。一般安装在车室顶棚上室顶灯的旁边。

