近日,国家知识产权局传来喜讯,我院泌尿外科主管护师邓煜宇(主研)、肝胆胰外科护士长杨洁、护理部主任陈冰共同研发的“一种一次性灌肠装置”荣获《国家知识产权局发明专利证书》。

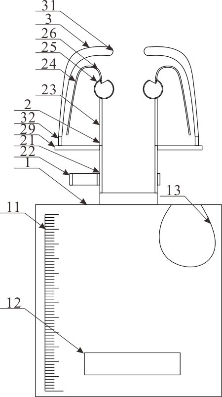
据了解,目前市面多使用一次性灌肠袋,但需要准备很多操作用物,且专业技能要求比较高,难以在居家照顾和医疗护理机构一类的环境下使用,且使用舒适度不足,使用者体验也较差。在这种技术背景之下,“一种一次性灌肠装置”针对了现有技术中的不足,提供了一种能够解决现有技术中一次性灌肠准备和操作复杂的问题。其专利包括袋体,袋体的一端为导管,导管包括相互连接的连接管和插管,插管端部与外套管连接,外套管套设于插管外侧,插管与外套管相接部设置有环向囊,外套管外侧可拆卸地套设有管帽,管帽上端开设有与插管相对的管口;袋体内设置有刻度线,袋体下部可拆卸地设置有测温贴;袋体内设置有清洁液囊。“一种一次性灌肠装置”的主要有益效果在于:一次性灌肠装置,通过在袋体上设置刻度线,便于根据需求的量灌注灌肠用水,如500ml至1000ml,通过设置测温贴,以确保水温为39-41度的理想水温,避免额外设置测温结构,方便直观。通过设置导管刻度,以便插入肠内深度;通过设置插管,以方便插入。通过在插管外设置外套管,避免插管端部过于锋利损伤肠内组织;通过在设置环向囊,以便在环向囊中填充用于润滑的液体,以润滑插管和外套管前端,进而方便插入肠道,且不用再额外准备石蜡油和纱布,节省操作。通过设置管帽,便于在灌肠袋排气后和需要多次灌肠的间隙用来保护导管,避免污染。通过设置清洁液囊,便于填充清洁液,使清洁液与袋体中的温水混合,从而快速调制灌肠液。通过设置导管前端卡扣,避免携带止血钳等过多操作用物。“一种一次性灌肠装置”能够有效节省灌肠操作的工序和所用物品种类,方便快捷,操作效率高。

一种一次性灌肠装置示图
本次发明的主要负责人邓煜宇,曾先后负责、参与《基于互联网加+健康管理模式对冠心病人焦虑情绪的干预》、《焦虑患者病耻感现状调查》等多个科研课题;获“一种一次性灌肠装置”国家发明专利1项;获“新型固定器”、“一种隐藏式尿袋裤”、“一种肠道冲洗袋”、“一种带有Y字接头的双腔导尿管”、“一种自动膀胱冲洗器”实用新型专利5项及1项发明专利正在申请中;发表学术论文6篇;曾获中国教育发展研究学会“第十一届全国科技优秀学术论文”一等奖、四川省护理学会“护理用具创新发明”一等奖、国家级刊物《介入医学杂志》“优秀文章”一等奖、成都医学会“泌尿外科专委会护理学组第一次会议”优秀论文;多次受大会邀进行学术交流,曾到四川大学华西医院进行专科护士“心理卫生”专业的培训学习,且参与临床带教工作。