poct有哪些厂家赛沛、卡尤迪、知微、优思达,呼吸道检测分子POCT哪家强?

新闻资讯2026-04-25 23:23:56
poct有哪些厂家赛沛、卡尤迪、知微、优思达,呼吸道检测分子POCT哪家强?_https://www.jmylbn.com_新闻资讯_第1张

有观点,有态度

这是医业观察的第2467-2期文章


来源:狗哥聊IVD


自从写了:呼吸道产品大PK!,很多人来问,分子POCT是否一战,哪家会最终突围成功,成为中国的“赛沛”。


如前文所述,口罩后呼吸道检测领域成为当红炸子鸡,但是大多数公司都是采用的qPCR平台。


市场继续卷,都想抢夺门急诊市场,刚刚设备拿证的迈瑞分子一体机,瞄准的也是门急诊市场。

200亿市场争夺战:迈瑞出大招了!

而门急诊最关注什么?

时间!
时间!
还是TMD时间!!!

主流厂家都在拼命的优化自己的流程与程序,比如圣湘、卓诚和伯杰,都号称30分钟方案。

甚至像熔解曲线方法的都在去疯狂改进时间。

而分子POCT产品在此方面具有无与伦比优势,除了上面提到的时间,还有操作的便捷性。

赛沛Cepheid


公司简介:


赛沛的使命是让医疗服务提供者能够及早发现和治疗疾病,提高患者的生存机会和生活质量。


赛沛一家分子诊断公司,致力于研发、生产、销售快速易用的分子诊断系统和试剂盒来改善医疗服务。赛沛将高度复杂和耗时的分析检测从手工操作提升至自动化检测,为不同规模的机构提供深入广泛的解决方案,以对微生物和遗传病进行复杂的基因检测。


通过其强大的分子生物学平台,赛沛专注于各种需要精准、快速检测结果的应用领域,如传染病和癌症。


产品简介:


poct有哪些厂家赛沛、卡尤迪、知微、优思达,呼吸道检测分子POCT哪家强?_https://www.jmylbn.com_新闻资讯_第2张


  • 产品:甲型/乙型流感及呼吸道合胞病毒核酸联合检测试剂盒(实时荧光PCR法)Xpert Xpress Flu/RSV Assay

  • 注册证号:国械注进20193400413

  • 检测数量:3项(甲流/乙流/呼吸道合胞病毒)

  • 技术原理:荧光PCR法

  • 样本类型:鼻咽拭子

  • 检测时间:<30min

  • 注册时间:2019年

  • 试剂有效期:2~28℃储存,有效期为24个月


狗评:
赛沛在分子POCT是绝对的一哥,操作简便性及结果准确性无出其右。

在分子结核检测领域,更是遥遥领先,一直被模仿,从未被超越。

甲乙合的组合在国内顶尖医院非常受欢迎,占有率也非常高,尤其是是北上广深苏杭等富裕地区的三甲医院。

为什么是这些地区,三甲医院,还是因为其高价格,富庶地区才可承受,当然结果也是相对更放心。

然而国际形势突变,34%的关税是否会影响其价格。原产地为美国的呼吸道三联检以及配套设备,将面对国产一堆小弟的价格“围剿”。

类似的事情也发生过,呼吸道三联检与国外供应的版本不一致,要独立生产,造成一段时间断货,被竞品蚕食了些市场。

一切都是未知数,还是希望赛沛这样的解决方案能在中国市场有所发展,中国人也配享受好的检测服务;

再着激励下国产的公司,别天天喊口号,拿出真正好的产品和服务去跟赛沛PK。

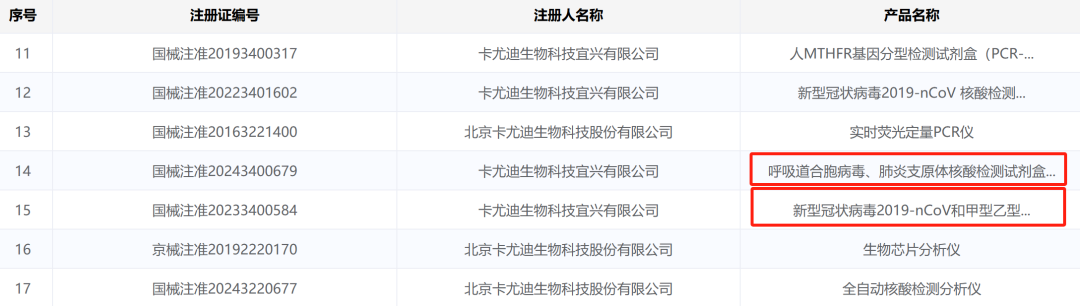
卡尤迪


公司简介:

卡尤迪于2009年成立,是一家专注于分子即时诊断(POCT)领域的国家高新技术企业,具备仪器、试剂、系统平台和人工智能大数据等交叉领域联合开发实力。

卡尤迪在分子诊断技术领域持续取得突破性创新,拥有完全自主知识产权,核心原料及元器件全部国产化,并具备国际先进水平的分子POCT技术平台的研发和量产能力。

基于“闪测”全自动分子POCT诊断机器人平台,在传染病、妇儿健康、精准用药等领域,提供更准、更快、更便捷的分子POCT全场景解决方案,让每一个人都受益于分子诊断。
poct有哪些厂家赛沛、卡尤迪、知微、优思达,呼吸道检测分子POCT哪家强?_https://www.jmylbn.com_新闻资讯_第3张

产品简介:
poct有哪些厂家赛沛、卡尤迪、知微、优思达,呼吸道检测分子POCT哪家强?_https://www.jmylbn.com_新闻资讯_第4张

  • 产品:新型冠状病毒2019-nCoV和甲型乙型流感病毒核酸检测试剂盒(荧光PCR法)

  • 注册证号国械注准20233400584

  • 检测数量:3项(新冠/甲流/乙流)

  • 技术原理荧光PCR法

  • 样本类型:咽拭子

  • 检测时间:<30min

  • 注册时间:2023

  • 试剂有效期检测盒于2~28℃避光保存,质控品于2~8℃保存,有效期12个月


poct有哪些厂家赛沛、卡尤迪、知微、优思达,呼吸道检测分子POCT哪家强?_https://www.jmylbn.com_新闻资讯_第5张

狗评:
卡尤迪,在很多专家眼里,是比肩赛沛般的存在,认为最有可能跑出来的公司。

从公司应收上也可见一斑,从路边社了解到,2024年应收近亿元,着实厉害。

你要知道,卡尤迪基本上是甲乙新一个产品在独自承担的卡尤迪的梦想。

比较诟病较多的就是卡尤迪注册比较慢,没啥新品上市。

在2024年上市了一个比较怪异的2联检:RSV/MP,不知是基于什么考量。

在其pipeline中,还是有很多呼吸道产品规划的。

也希望卡尤迪能上市更多产品,进一步扩大领先优势。

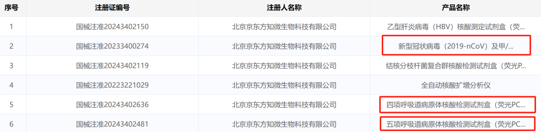
京东方 知微生物


公司简介:

知微生物是一家POCT分子诊断解决方案提供商,已成功构建集微流控芯片、诊断试剂、检测设备于一体的全链条自主研发及生产体系,致力于打造病原体检测、耐药基因检测、妇幼健康等创新性POCT分子诊断平台,以科技创新赋能国家精准医疗体系和分级诊疗体系建设。

产品简介:

poct有哪些厂家赛沛、卡尤迪、知微、优思达,呼吸道检测分子POCT哪家强?_https://www.jmylbn.com_新闻资讯_第6张

  • 产品1:新型冠状病毒(2019-nCoV)及甲/乙型流感病毒核酸联合检测试剂盒(荧光PCR法)

  • 产品2:四项呼吸道病原体核酸检测试剂盒(荧光PCR法)
  • 产品3五项呼吸道病原体核酸检测试剂盒(荧光PCR法)
  • 检测数量:3项(新冠/甲流/乙流);4项(呼吸道合胞病毒、副流感病毒、腺病毒、肺炎支原体);5项(甲型流感病毒、乙型流感病毒、呼吸道合胞病毒、腺病毒、肺炎支原体)

  • 技术原理荧光PCR法

  • 样本类型咽拭子

  • 检测时间:<30min

  • 注册证号国械注准20233400274/国械注准20243402636/国械注准20243402481

  • 注册时间:2023/2024/2024

  • 试剂有效期2℃~30℃避光干燥保存,有效期12个月


poct有哪些厂家赛沛、卡尤迪、知微、优思达,呼吸道检测分子POCT哪家强?_https://www.jmylbn.com_新闻资讯_第7张

狗评:
知微生物背靠大树,京东方,财力雄厚,花大价钱在产品研发注册上。

2024年底,接连获得呼吸道4联检、5联检注册证,还有结核等相关产品。

在产品矩阵及应用组合上,给客户了更多的选择空间。流感季、非流感季以及呼吸道感染高发季,都有相应的产品。

知微在产品研发上的投入一向“大气”,比如在2024年6月获得亿元融资,没有见营销团队有所扩大,估计都用在了研发上,“只要产品好,都会来用的”。

只是好奇的一点是2024年融资时,为什么估值那么低,低到了令人发指的地步。

即便考虑到近两三年资本遇冷,IPO受挫的宏观因素,还是无法理解。

难道背后……

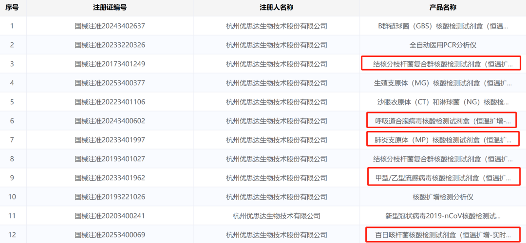
优思达


公司简介:

杭州优思达成立于2005年,一直专注于创新的即时分子诊断(POCT)技术及产品的研发、生产和销售。公司已建立具有完全自主知识产权的技术平台,申请数十项国际国内发明专利;持续参与传染病防治国家科技重大专项,荣获“国家科技进步二等奖”、“浙江省科技进步一等奖”等重要奖项数十项。

产品简介:
poct有哪些厂家赛沛、卡尤迪、知微、优思达,呼吸道检测分子POCT哪家强?_https://www.jmylbn.com_新闻资讯_第8张
  • 产品1:甲型/乙型流感病毒核酸检测试剂盒(恒温扩增-实时荧光法)

  • 产品2肺炎支原体(MP)核酸检测试剂盒(恒温扩增-实时荧光法)

  • 产品3呼吸道合胞病毒核酸检测试剂盒(恒温扩增-实时荧光法)

  • 检测数量:2项/单重

  • 技术原理:恒温扩增-实时荧光法

  • 样本类型咽拭子

  • 检测时间:25min

  • 注册证号:国械注准20233401962/国械注准20233401997/国械注准20243400602

  • 注册时间:2023/2023/2024

  • 试剂有效期2℃~8℃保存,有效期为12个月


狗评:
优思达最先在市场上发力的产品是结核产品,抢了些和开拓了些客户。

在口罩期间,致力于发热门急诊的开拓,也收到了不小的回报。

目前优思达获证的产品也有几个了,甲乙流、百日咳、肺支、呼吸道合胞病毒等等。
不过目前看已获证产品大多是2联检和单重检测,不知是对市场的规划,认为单检才是未来,还是当时注册时多重技术不成熟所致。

看优思达在pipeline中还有上呼吸道十联检,下呼吸道十联检,野心那是相当的大。

优思达在去年的业绩表现也是相当的好,可能也是得益于海外市场的爆发。

也给其他企业提供了思路,国内市场也是真的卷,卷的费劲,可以去卷外国人。

自从进入2025年开始,多家分子POCT厂家获得了飞速的发展,被越来越多的客户所认可。

3月14日,在重庆召开CCDLM 2025上《病原体核酸快速检测临床规范化应用专家共识》研讨会召开,对于目前大热的病原体核酸快检的临床规范化进行了深入讨论。

随着后续共识的发布,病原体快检市场将进一步被打开,尤其是分子POCT。

分子POCT的未来如星辰大海般璀璨,您看好哪家的发展,欢迎留言讨论。


❖ 慎重声明:本文内容仅供学习交流,观点仅代表作者本人立场,版权归原作者所有,如有疑问请联系编辑。

---The End---

欢迎扫码添加编辑微信号,加入行业交流群

poct有哪些厂家赛沛、卡尤迪、知微、优思达,呼吸道检测分子POCT哪家强?_https://www.jmylbn.com_新闻资讯_第9张

欢迎点击关注

poct有哪些厂家赛沛、卡尤迪、知微、优思达,呼吸道检测分子POCT哪家强?_https://www.jmylbn.com_新闻资讯_第10张

喜欢就一键三连,点赞,在看,分享!