吸引器用什么【创新项目推介】手术用多通道吸引器操作柄

新闻资讯2026-04-24 00:54:44

应用科室


外科,用于多个吸引器同时使用的手术场景中。如心外科、骨科、血管外科、妇产科、肿瘤外科等。


项目背景


外科开放手术中,为了保证手术视野清晰,常需要使用吸引系统对术中物质进行吸除。目前临床所用吸引系统,由4部分组成。1个吸引器操作柄(即吸引头),结构多通用,用于吸除液体、固体或气体;1条连接管用于传送吸除物;1套引流瓶用于储存吸除物;1个吸引器用于提供吸引动力,多为电动负压抽吸。由于术中可能并存出血、冲洗液、渗出液、脓液等多种不同液体或废气等气体,吸除后要分开存放以进行不同的处理,故需要多套吸引系统同时启动,相应吸引头切换使用。多条连接管路分散存在,占据术者活动空间,管路可能相互缠绕,也可能因其挪动导致手术器械跌落污染;加之多个吸引头反复切换,影响了手术进度。如能减少管路,且在吸引系统间切换方便,则能使手术操作更顺畅、更高效。


产品概述


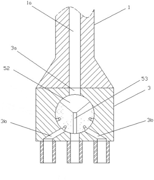
本项目吸引器操作柄将吸引不同物质的多个吸引头集合为一个,通过不同连接管做物质的区分引流。如下产品外观结构图所示,柄体1为术者手持部件,内有主吸引通道;连接头2接触患者,执行吸引功能;连接座3内部设有可旋转的吸引通道及分支通道,表面有泄压孔61;分支接头4用于与不同连接管相接。如下产品内部构造图所示,不同吸除物共用主通道1a,从连接头2吸引到连接座3的主通道3a内,继而通过可旋转的通道52、53选择合适的分支通道3b,经由分支接头4引流进相应引流瓶中,有效减少接触患者端的管路数量。由于泄压口61的设置,各分支接头4所接吸引器可一直开启,需要不同分支通道工作时直接进行53的旋转,切换方便


①产品外观结构     ②产品内部构造

吸引器用什么【创新项目推介】手术用多通道吸引器操作柄_https://www.jmylbn.com_新闻资讯_第1张
吸引器用什么【创新项目推介】手术用多通道吸引器操作柄_https://www.jmylbn.com_新闻资讯_第2张
吸引器用什么【创新项目推介】手术用多通道吸引器操作柄_https://www.jmylbn.com_新闻资讯_第3张


项目进展


发明专利已公开,公开号:CN109568683A,申请号:CN201811394208.0。


合作方式


拟进行专利许可。


联系方式


杨焱钦,13480216978,CCI高级项目经理

罗    兰,13121855718,CCI高级项目经理


孵化平台


中国心血管医生创新俱乐部(Center for Cardiovascular Innovations ,CCI)是由心血管介入治疗技术与器械教育部工程研究中心发起的面向全国心血管医生及研究人员的非营利性民间学术组织。俱乐部位于东海之滨上海,集创新培训、设计交流、研究支持、产业合作为一体,希望激发临床医生基于发现和解决临床需求的创新潜能,引导其积极参与医疗技术及器械研发,并为其提供临床前及临床研究和产业化平台,推动中国心血管医疗器械摆脱模仿,自主创新,走向世界。



创新超话



心血管外科临床痛点及解决方案征集表

点击【阅读原文】即可进入查看。

吸引器用什么【创新项目推介】手术用多通道吸引器操作柄_https://www.jmylbn.com_新闻资讯_第4张
吸引器用什么【创新项目推介】手术用多通道吸引器操作柄_https://www.jmylbn.com_新闻资讯_第5张
吸引器用什么【创新项目推介】手术用多通道吸引器操作柄_https://www.jmylbn.com_新闻资讯_第6张

CCI心血管医生创新俱乐部

长按二维码关注我们

本期策划:沈雳

责任编辑杨焱钦  罗兰

后期制作:任燕龙  汪蕊

吸引器用什么【创新项目推介】手术用多通道吸引器操作柄_https://www.jmylbn.com_新闻资讯_第7张